Analog Devices Inc. AD-GMSL522-SLGMSLロボティクス高速開発プラットフォーム
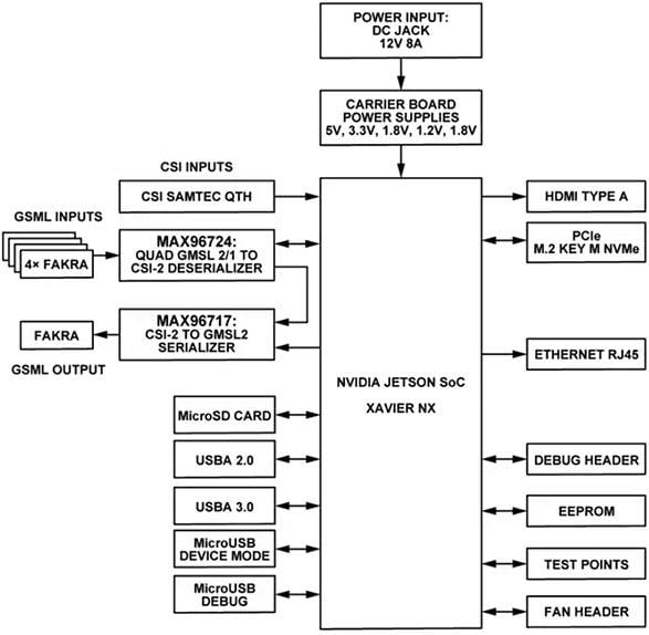
Analog Devices AD-GMSL522-SLGMSLロボティクス高速開発プラットフォームは、GMSL対応のNVIDIA Jetson Xavier™ NXベースのキャリアボードとソフトウェアソリューションで、カメラからディスプレイへの簡単な変換を可能にします。これらのソリューションは、データの送受信のためのスケーラブルでユーザーフレンドリーなGMSLプラットフォームを構築します。このプラットフォームは、ソフトウェア開発のためのハードウェアプラットフォームとして機能することで、デモンストレーションやエコシステムの開発を可能にします。設計にMAX96724GTN/VY+ Quad トンネリング GMSL2/1ツー CSI-2デシリアライザーとMAX96717GTJ/VY+ CSI-2ツーGMSL2シリアライザーが組み込まれており、高帯域幅GMSLを評価するための信頼性の高いプラットフォームを提供します。これらのボードは、センサ・フュージョンECU、車載インフォテインメント、ADASカメラ・ソリューションに使用されます。Analog Devices AD-GMSL522-SLシリーズは2 種類のカメラ入力方式をサポートしています。Samtecコネクタを経由するストレートCSI データを使用する方法と、GMSL2またはGMSL1テクノロジーを使用してカメラモジュールを経由してCOAXコネクタ経由でオンボードMAX96724に接続する方法です。GMSL評価キットや、標準の15ピンまたは22ピンのRaspberry Piコネクタを使用するカメラは、AD-GMSLCAMRPI-SLアダプタボードを使用して接続できます。
AD-GMSL522-SLパッケージには、顧客のGMSLアプリケーション開発を可能にするソフトウェア・ツールが含まれています。これらのツールは、特定のカメラ モジュールとドキュメントをサポートする修正済みのL4Tカーネルを内蔵しており、ユーザーは特定のハードウェア・ニーズに合わせてこれらのカーネルを更新できます。
特徴
- NVIDIA Jetson™ SoCをサポートするGMSL2プロトタイピング・システム
- オンボードMAX96724を使用すると、カメラ・モジュールの立ち上げ、デバッギング、ビデオ・ストリーミングを提供するGMSL2/1カメラ入力x4が可能
- カメラ・エミュレーションとヘッドユニット・デバッグに使用できるオンボードMAX96717
- NVIDIA Jetson SoCを用いたGMSLアプリケーションの開発が可能
- 任意のGMSL DPHY EVキットをNVIDIA Jetsonに接続できるSAMTECコネクタ
- 追加のUSB、イーサネット、PCIe、microSDカード入力
アプリケーション
- ADASカメラ・ソリューション
- センサ・フュージョンECU
- 運転者および乗員の監視
- 機内インフォテインメント
ビデオ
システムアーキテクチャ
View Results ( 2 ) Page
| 部品番号 | データシート | 説明 |
|---|---|---|
| AD-GMSL522-SOM-SL | インターフェイス開発ツール Nvidia SoC based dev't platform + SOM | |
| AD-GMSL522-SL | インターフェイス開発ツール Nvidia SoC based development platform |
公開: 2024-08-30
| 更新済み: 2025-03-13
