ADI AD3530/AD3530R DACには、出力電圧、電流、内部ダイ温度を監視できる統合マルチプレクサが搭載されています。このデバイスには、有効な書込が実行されるまで32kΩまでのDAC出力電力を接地に確認するパワーオンリセット(POR)回路が組み合わされています。また、DACにはパワーダウンモードも組み込まれており、消費電流を標準670μAまで低減します。
シリアルペリフェラルインターフェイス(SPI)およびMICROWIRE®互換の4線式シリアルインターフェイスは、最低1.08V〜最大1.98Vまでのロジックレベルおよび最大50MHzのクロックレートで動作します。
AD3530/AD3530Rは、2.1mm × 2.2mm、25ボール WLCSPパッケージに収められています。
特徴
- 16ビット分解能、±3 LSB16 INL、±1 LSB16 DNL
- TUE:±0.22%のFSR(最高)
- 最大±1.6mVのオフセットエラー
- 最大±0.26%のFSRのゲインエラー
- 50mAの保証されたソース電流
- 超低ヘッドルーム: 20mA負荷で25mV
- 2.5V内部電圧基準電圧、標準5ppm/°C
- 62nV/√Hzノイズスペクトル密度(外部リファレンス)
- 115nV/√Hzノイズスペクトル密度(内部リファレンス)
- 出力電圧、電流、ダイ温度モニタ
- 50MHz SPI書込と読取
- 電源範囲2.7V~5.5V
- 1.2Vまたは1.8V互換デジタルインターフェイス
- -40°C ~+125°Cの動作温度範囲
- 2.1mm x 2.2mm、25ボール WLCSP小型パッケージ
アプリケーション
- オプティカル・トランシーバ
- テストと計測
- 産業用オートメーション
- データ収集システム
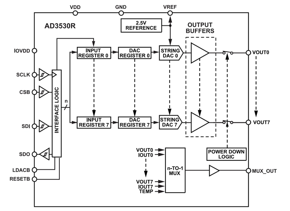
機能ブロック図
公開: 2025-03-14
| 更新済み: 2025-03-18

