Analog Devices Inc. AD4195-4低ノイズ高精度シグマデルタ型ADC
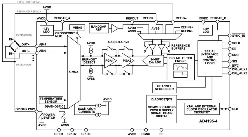
Analog Devices Inc. AD4195-4低ノイズ高精度シグマデルタ型ADCは、高精度測定アプリケーション向けの完全統合型、低ノイズ、マルチチャンネルアナログフロントエンドです。これらの62.5kSPSデバイスには、低ノイズの24ビットΣ-Δアナログ・デジタル・コンバータ(ADC)が搭載されており、4つの差動入力、または8つのシングルエンド入力/疑似差動入力を持つように構成できます。ADI AD4195-4は、高度なデジタルフィルタリングとプログラム可能なゲインオプションを内蔵し、広い範囲のセンサや入力タイプのための柔軟なシグナルコンディショニングを実現します。このアーキテクチャには統合された参照機能と診断機能が含まれており、システム設計を簡素化しながら堅牢な性能を確保します。低電力消費と複数の動作モードにより、デバイスは省エネルギーシステム向けに最適化されています。標準SPIインターフェイスを介した通信をサポートし、マイクロコントローラベースのプラットフォームへのシームレスな統合を実現します。産業用オートメーション、医療機器、計量器、その他の精密測定システムに最適なAD4195-4には、高分解能、低ノイズ、信頼性が組み合わされており、重要なアプリケーションに最適です。
特徴
- 入力換算ノイズ:3.8SPS、ゲイン = 128で10nV
- クロスポイント多重アナログ入力
- 4個の差動入力/8個の疑似差動入力
- 超低ノイズの内蔵PGA、ゲイン範囲:0.5~128
- 出力データレート 3.8SPS~62.5kSPS
- 柔軟なデジタルフィルタ
- 低レイテンシsincフィルタ
- 同時50Hz/60Hz 除去
- ドリフト5ppm/ºC(代表値)のバンドギャップリファンレンス
- 内部発振器
- 電源
- アナログ電源:4.75V~5.25V、または±2.5V
- 1.7V~5.25Vデジタル
- マッチングされたプログラム可能な励起電流源
- ローサイド・パワー・スイッチ
- オンチップバイアス電圧ジェネレータ
- 内部温度センサ
- 4つの汎用入出力
- 内部およびシステム校正
- センサーの熱焼損検出
- 診断機能
- チャンネルごとに構成
- 柔軟な自動チャンネルシーケンサ
- 3線式または4線式のシリアルインターフェイス(シュミット・トリガ付きSCLK)- SPI、QSPI、MICROWIRE、DSP互換性
- データストリーミング用のTDM互換インターフェイス
- 温度範囲
- -40°C~+105°Cの性能
- -40°C ~ +125°Cで機能
- 32ピン、4mm × 6mm LFCSPパッケージを採用
- 湿度感度レベル(MSL)3
アプリケーション
- 産業プロセス制御:PLC/DCSモジュール
- 温度測定
- 圧力測定
- 医療および科学技術計測
- クロマトグラフィ
- 環境モニタリング
- 電子テストおよび測定
- 計器
- 重量スケール
ブロック図
重量スケールアプリケーション回路
3線RTDアプリケーション回路
公開: 2025-12-01
| 更新済み: 2026-01-22
