Analog Devices Inc. AD5676/Rオクタル、16ビットnanoDAC
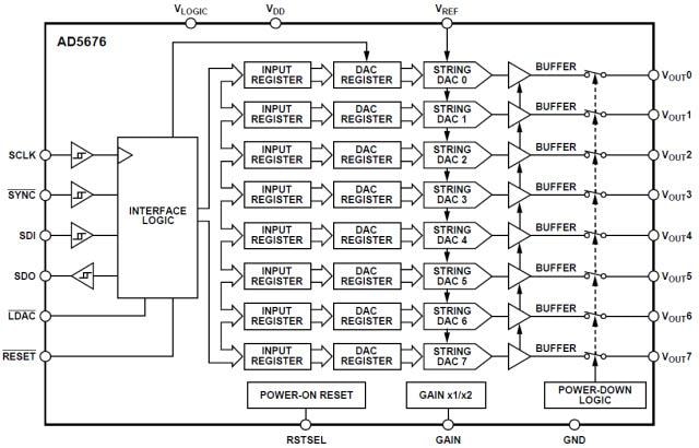
Analog Devices AD5676/Rオクタル、16ビットnanoDACは、フルスケール出力をVREF(ゲイン=1)あるいは2つのVREF(ゲイン=2)に切り替えられるゲイン選択ピンを備えた低消費電力のデジタルアナログコンバータです。デバイスは単電源2.7V~5.5Vで動作し、単調増加性が設計保証されています。ADI AD5676/R nanoDACはパッケージに20ピンTSSOPを採用し、パワーオンリセット回路とRSTSELピンを備えているため、DAC出力をゼロまたは中間点までパワーアップし、有効な書込みがあるまでこの出力状態を維持します。AD5676/R nanoDACはパワーダウン機能を備えているため、パワーダウンモード時にはデバイスの消費電流が標準で1µAまで低下します。AD5676/R nanoDACは動作温度範囲、-40ºC~125ºCを特徴としています。特徴
- High performance
- High relative accuracy (INL): ±3 LSB maximum at 16 bits
- Total unadjusted error (TUE): ±0.14% of FSR maximum Offset error: ±1.5 mV maximum
- Gain error: ±0.06% of FSR maximum
- Wide operating ranges
- -40°C to +125°C temperature range
- 2.7V to 5.5V power supply
- Easy implementation
- User-selectable gain of 1 or 2 (GAIN pin)
- 1.8V logic compatibility
- 50MHz SPI with readback or daisy chain
- Robust 2kV HBM and 1.5kV FICDM ESD rating
- 20-lead, TSSOP RoHS-compliant package
アプリケーション
- Optical transceivers
- Base station power amplifiers
- Process control (PLC input/output cards)
- Industrial automation
- Data acquisition systems
Functional Block Diagrams
公開: 2015-01-13
| 更新済み: 2024-03-28
