各出力チャンネルに専用の電源ピンが用意されています。各チャンネルは2.85V〜33Vまで動作可能で、内蔵スイッチにより任意の出力をオプションの負電源に切り替えることができます。Analog Devices AD5778Rは、高精度1.25Vの内部リファレンス(最大10ppm/°C)を備えていますが、外部リファレンスを使用するオプションもあります。SPI/Microwire互換の3線式シリアルインターフェイスは、わずか1.71Vの低いロジックレベルで最大50MHzのクロックレートで動作します。
特徴
- チャンネルごとにプログラム可能な出力範囲:300mA、200mA、100mA、50mA、25mA、12.5mA、6.25mA、3.125mA
- 柔軟な電源電圧:2.85V〜33V
- 1Vのドロップアウト電圧を保証
- 出力チャンネルごとに個別の電圧供給
- オプションの負電源に切り替えるスイッチを内蔵
- すべての範囲での完全16ビット分解能
- 動作保証:-40°C〜125°C
- 高精度(最大10ppm/°C)内部リファレンスまたは外部リファレンス入力
- アナログマルチプレクサによる電圧および電流の監視
- SPIまたは専用ピンでのA/Bトグル
- SPI:1.8V〜5V
- 32ピン(5mm × 5mm)QFNパッケージ
アプリケーション
- 調整可能なレーザー
- 半導体光アンプ
- 抵抗ヒーター
- 電流モードのバイアス接続
- 比例ソレノイドドライブ
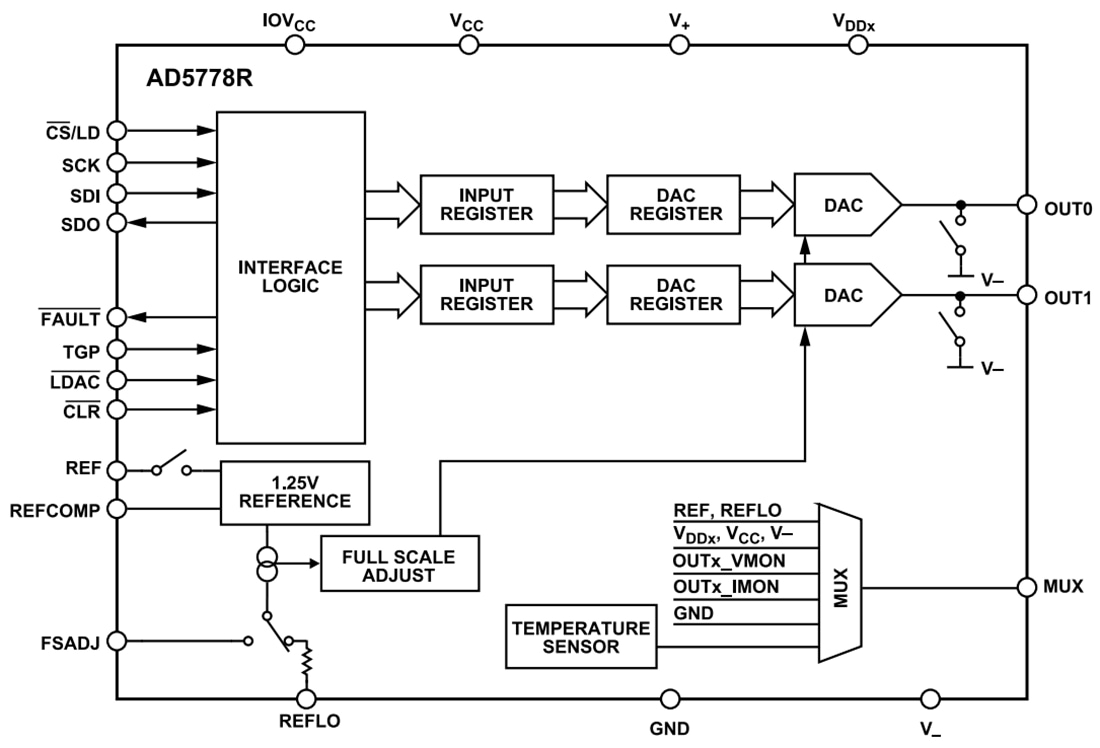
機能ブロック図
公開: 2024-08-07
| 更新済み: 2024-09-04

