Analog Devices Inc. AD7401絶縁型シグマデルタモジュレータ
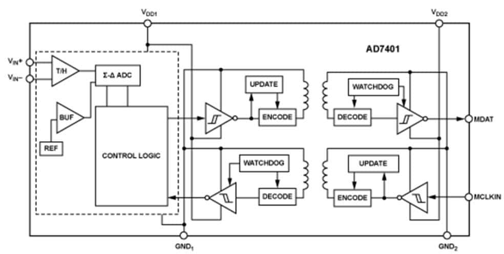
Analog Devices Inc. AD7401絶縁シグマデルタ・モジュレータは、ADIのiCoupler®技術に基づいており、アナログ入力信号をオンチップ・デジタル絶縁によって高速1ビットデータストリームに変換します。AD7401は、5V電源で動作する2次シグマデルタ(Σ-Δ)モジュレータで、±200mV(±320mVフルスケール)の差動入力信号を受け入れます。アナログ入力は、アナログ・モジュレータによって連続的にサンプリングされ、外部サンプル/ホールド回路は不要です。入力情報は、最大20MHzのデータレートがあるデータの密度として表示され、出力ストリームに含まれています。元の情報は、適切なデジタル・フィルタで再構成できます。シリアルI/Oは、5Vまたは3V電源(VDD2)のどちらでも使えます。シリアル・インターフェイスは、デジタル的に絶縁されます。高速CMOSには、モノリシック空心トランス技術が採用されており、オプトカプラ・デバイスといった優れた性能特性をオンチップで絶縁できます。このデバイスには、オンチップリファレンスが備わっています。AD7401は、16リードSOICで提供されており、-40°C~+105°Cの動作温度範囲があります。
内部クロックバージョン、AD7400、も利用できます。
特徴
- 最大外部クロックレート: 20MHz
- 2次モジュレータ
- 16ビット・ノーミッシングコード
- 16ビットで±2 LSB INL typical
- オフセットドリフト: 3.5μV/°C max
- オンボードデジタルアイソレータ
- オンボードリファレンス
- 低消費電力動作: 5.25Vで最大20mA
- 動作範囲: 40°C~+105°C
- 16ピンSOICパッケージ
- 安全および規制に関わる承認
- 追加機能についてはデータシートを参照
アプリケーション
- ACモータ制御
- データ取得システム
- A/D+オプトアイソレータ置換
ブロック図
公開: 2018-04-03
| 更新済み: 2023-01-27
