Analog Devices Inc. AD7779 24ビット同時サンプリングADC
Analog Devices AD7779は、スマートグリッドシステムで迅速に回路ブレーカ装置が立ち上がることを保証するように設計された8チャンネル24ビット同時サンプリングADCです。 このデバイスは、チップ上の8個の完全なシグマデルタ(Σ-Δ)ADCが特徴です。 8個の同時サンプリングチャンネルによって、三相電力用途における電流および電圧センサからの出力を測定します。 8個の入力チャンネルにはプログラマブルゲインステージが含まれており、1、2、4、8のゲインが可能で、フルスケールADCでの入力範囲の低い振幅のセンサ出力をマッピングできます。 この設計によって、シグナルチェーンのダイナミックレンジが最大化されます。 AD7779 ADCは、8kSPSでの112dBダイナミックレンジを達成しており、単一のADCチャネルでの保護および測定機能の統合が可能です。 さらに、AD7779 ADCには、プログラマブルゲインアンプ(PGA)が統合されており、さまざまなセンサ出力をスケーリングできます。 サンプルレートコンバータ(SRC)には、最大15.25µSPSの分解能のサンプリングレートが備わっています。 SRCは、50Hz(-15%)~60Hz(+15%)の範囲でライン周波数の0.01Hz変化に一貫性を維持する上で役立ちます。 追加の低分解能SAR ADCチャンネルは別電源で動作し、システムとチップ診断用のデータを提供します。The AD7779 ADCs achieve a 112dB dynamic range at 8kSPS and enable the consolidation of protection and measurement functions on a single ADC channel. In addition, the AD7779 ADCs integrates a programmable gain amplifier (PGA) to scale various sensor outputs. A sample rate converter (SRC) offers a sampling rate of resolution up to 15.25µSPS. The SRC helps maintain coherency to a 0.01Hz change in line frequency over a 50Hz (-15%) to 60Hz (+15%) range. An additional low-resolution SAR ADC channel operates from a separate power supply and provides data for system and chip diagnostics.
特徴
- 8-channel, 24-bit simultaneous sampling analog-to-digital converter (ADC)
- Single-ended or true differential inputs
- Programmable gain amplifier (PGA) per channel (gains of 1, 2, 4, and 8)
- Low DC input current: ±4nA
- Up to 16kSPS output data rate (ODR) per channel
- Programmable ODRs and bandwidth
- Sample rate converter (SRC) for coherent sampling
- Sampling rate resolution up to 15.2μSPS
- Low latency sinc3 filter path
- Adjustable phase synchronization
- Internal 2.5V reference
- Two power modes
- High-resolution mode
- Low power mode
- Optimizes power dissipation and performance
- Low-resolution successive approximation (SAR) ADC for system and chip diagnostics
- Power supply
- Bipolar (±1.65V) or unipolar (3.3V) supplies
- Digital input/output (I/O) supply: 1.8V to 3.6V
- Performance temperature range: -40°C to +105°C
- Functional temperature range: -40°C to +125°C
アプリケーション
- Circuit breakers
- General-purpose data acquisition
- Electroencephalography (EEG)
- Industrial process control
技術記事
-
Newest Sigma-Delta ADC Architecture Averts Disrupted Data Flow
This article introduces the way distributed data acquisition systems have been traditionally synchronized for both SAR ADC-based systems and sigma-delta (∑-Δ) ADC-based systems and explores the differences among the two architectures. -
Why Is DC Energy Metering Important?
Driven by the development of efficient and economic power conversion technology based on wide bandgap semiconductors, such as GaN and SiC devices, many applications now see benefits in switching to DC energy exchange. As a consequence that, precision DC energy metering is becoming relevant, especially where energy billing is involved.
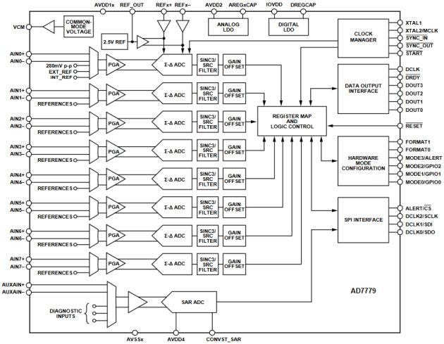
Functional Block Diagram
