Analog Devices Inc. AD9083アナログデジタルコンバータ
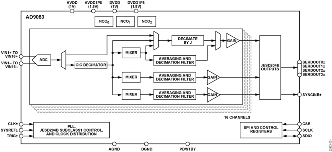
Analog Devices Inc. AD9083アナログデジタル コンバーターは、16チャネル、125MHz帯域幅、連続時間Σ-Δ(CTSD)ADCです。AD9083は、オンチップ、プログラマブル、単極アンチエイリアシングフィルタとターミネーション抵抗器が特徴です。この製品は、低電力、小サイズ、使いやすさを重視して設計されています。16のADCコアは、統合バックグラウンド非直線性補正の論理高速化と自己キャンセルディザーが搭載された一次CTSDモジュレータアーキテクチャが特徴です。各ADC は、ユーザーが選択可能なさまざまな入力範囲をサポートする広帯域幅入力を備えています。統合された電圧基準により、設計上の考慮事項が容易になります。特徴
- 1.0Vおよび1.8V供給動作
- 125MHzで使用可能なアナログ 入力帯域幅
- サンプルレート最大2 GSPS
- 100MHz帯域幅のノイズスペクトル密度= −145dBFS/Hz、2.0GSPSエンコード
- SNR =66dBFS(100MHz帯域幅、2.0GSPS エンコードで)
- SNR =82dBFS(15.625MHz帯域幅、2.0GSPS エンコードで)
- SFDR = 60dBc (100MHz 帯域幅、2.0のGSPS エンコードで)
- SFDR = 80dBc (15.625MHz 帯域幅、2.0のGSPS エンコードで)
- 大信号ディザー
- 2.0GSPS でチャンネル当たり90mWの合計電力(デフォルト設定)、チャンネルあたり35mW の電力(最小)
- 0.5V p-p ~ 2V p-p差動柔軟入力範囲
- 90dBチャンネルクロストーク、2.0GSPS エンコード
- デジタルプロセッサ
- CICデシメーションフィルタ
- プログラマブルDDC
- データゲーティング
- JESD204Bサブクラス1エンコード出力
- 最大16Gbps/laneに対応
- 柔軟性に富んだサンプルデータ処理
- 柔軟なJESD204Bレーン設定
- シリアル ポート制御
アプリケーション
- ミリ波画像処理
- 電子ビーム形成と位相アレイ
- マルチチャンネル広帯域レシーバ
- 電子サポート計測
ブロック図
エッジ処理 テクノロジーにより次世代ミリ波スキャナを強化
ミリ波テクノロジーが従来の金属検出器を上回る方法、およびエッジ処理による効率的なデータ管理を備えたチップセットが高度なウォークスルーセキュリティスキャニングシステムの開発を可能にする方法をご覧ください。
公開: 2021-01-27
| 更新済み: 2023-04-17
