Analog Devices Inc. ADE9430電力品質モニタリング用IC
アナログ・デバイセズ社 ADE9430電力品質モニタリングICは、高精度で完全に統合された多相エネルギーおよび電力品質モニタリング装置です。ADE9430は、優れたアナログ性能およびデジタル信号処理(DSP)コアが特徴で、広いダイナミックレンジ全体で正確なエネルギー監視が行えます。統合ハイエンドリファレンスによって、チャンネル全体に対して最大 ±25ppm/°C未満のドリフトが組み合わされており、温度全体での低ドリフトが保証されます。これには、プログラマブルゲインアンプ(PGA) およびアナログデジタルコンバータ(ADC)が含まれます。ADE9430を使用すると、アクイジション・エンジンと計算エンジンの緊密な統合化によって、電力量および電力品質モニタリングシステムの実装と認証が容易になります。内蔵のADCとDSPエンジンがさまざまなパラメータを計算し、ユーザーによるアクセスが可能なレジスタを介してデータを提供し、あるいは割り込みピンを介してイベントを示します。ADE9430は、7個の専用ADCチャンネルを備えています。これにより、3相システムあるいは最大3つの単相システムに使用することができます。このデバイスは、電流測定用の外部アナログ積分器と併用すると、カレントトランス(CT)またはロゴスキーコイルに対応できます。
ADE9430電力品質モニタリング用ICは、太陽光発電、エネルギーストレージソリューション (ESS)、双方向EVチャージャーといったインバータベースのリソースによってグリッドに供給される高調波の量の決定にも使用できます。このソリューションは、グリッド上の障害を監視することで、信頼性がさらに高いクリーンなエネルギーグリッドを実現するために追加が可能な分散型エネルギーリソースを最適化するための優れた診断が可能です。
Analog Devices Inc. ADE9430電力品質モニタリング用ICは、40ピンのリードフレームチップスケールパッケージを採用し、RoHSに準拠しています。
特徴
- 7個の高性能24ビットΣ-Δ ADC
- SNR(S/N比)101dB(8kSPS、PGA = 1の場合)
- 広い入力電圧範囲 利得=1の場合に±1V、707mV RMSフルスケール
- 差動入力
- 10000:1ダイナミック入力範囲が可能になる±25ppm/°C最大チャンネルドリフト(ADC、内部VREF、PGAドリフトを含む)、Class 0.2のメータを標準的な外付け部品で実現
- オプションのADSW-PQ-CLS電力品質ライブラリにより、以下をはじめとするIEC 61000-4-30 Class S電力品質規格すべてに対応
- 平均10秒間の電力周波数
- 電圧の大きさ
- ディップおよびスウェル
- 中断
- 急激な電圧変更
- ちらつき(フリッカ)
- 主電源電圧の信号
- 過小偏差と過大偏差
- 電圧および電流
- 振幅
- 高調波
- 高調波
- 不均衡
- THD
- 波形記録
- Arm® Cortexマイクロコントローラに対応したオプションのADSW-PQ-CLS電力品質ライブラリ
- 各サイクル単位で更新される1サイクルのVRMSとIRMS
- サンプルごとにフィルタリングされ更新されるVRMSとIRMS
- 10サイクルrms/12サイクルrms
- 周期レジスタによるライン周波数の計算(1位相あたり1回)
- ゼロ交差とゼロ交差タイムアウト
- 位相角測定
- CTをサポート
- CTのマルチポイント位相とゲイン補償
- 外部アナログ積分器の追加によるRogowskiコイル
- 連続リサンプリングデータを利用可能
- 波形バッファ
- 高度な計測機能セット
- 総有効電力および基本有効電力、無効電力(VAR)、電力(VA)、ワット時、VAR 時、および VA 時
- 総合および基本波のIRMSとVRMS
- 力率
- 有効電力量の規格に対応: IEC 62053-21、IEC 62053-22、EN50470-3、OIML R46、ANSI C12.20
- 無効電力量規格をサポートIEC 62053-23、IEC 62053-24
- 高速通信ポート 20MHz SPI
- 12ビット逐次比較レジスタ(SAR)ADCが搭載された統合温度センサ
- −40°C~+85°Cで±3°C精度
- 6mm × 6mm × 0.75mm LFCSP-40 パッケージ(EPAD付き)
アプリケーション
- 電力量と電力モニタリング
- 規格準拠の電力品質モニタリング
- 保護デバイス
- 機械状態
- スマート配電ユニット
- 多相電力量メータ
ビデオ
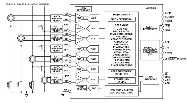
ブロック図
公開: 2022-10-25
| 更新済み: 2025-01-29
