Analog Devices Inc. ADEMA124/ADEMA127 24ビットシグマデルタADC
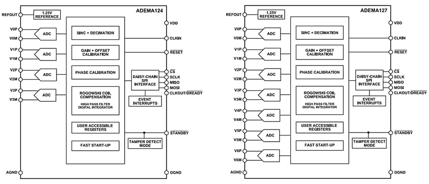
Analog Devices Inc. ADEMA124/ADEMA127 24ビットシグマデルタADCは、それぞれ4チャンネルおよび7チャンネルの同時サンプリングアナログ・デジタルコンバータ(ADC)であり、多相および分相電力計測アプリケーション向けに設計されています。これらのデバイスは、分圧器、シャント、および電流変成器やロゴスキーコイルなどの絶縁型電流センサと互換性があります。各ADCチャネルには独立したハードウェアおよびDSPフィルタを搭載し、利得・位相・オフセット補償を実現します。さらに、積分器や2次高域通過フィルタを含む専用DSP機能を備え、ロゴスキーセンサの実装を簡素化します。一般的なユースケース向けにプリロードされたDSPフィルタ係数が提供され、特定の要件に合わせてカスタマイズ可能です。ADI ADEMA124およびADEMA127には、sinc補償、ローパスフィルタ、およびデシメーション率2のDSP機能が組み込まれており、特定の出力サンプルレートで使用可能なアナログ帯域幅が最大で70%拡張されます。この高い帯域幅により、部品は IEC 61000-4-30電力品質クラスAおよびクラスSのメータに適しています。また、これらのADCは、IEC 62053-21、IEC 62053-22、OIML R46、ANSI C12.1などの有効エネルギー規格、およびIEC 62053-23、IEC 62053-24、EN 50470-3の無効エネルギー規格とのコンプライアンスをサポートします。ADEMA124およびADEMA127 ADCは、0.5ms(標準)の高速起動時間により、特にRogowskiセンサと組み合わせて、サーキットブレーカや保護リレーにも最適です。
ADCには、構成とデータ取得を行うための柔軟なSPIインターフェイス(daisy-chain機能搭載)が備わっており、 複数のADCを単一のSPIポートで処理できるため、ホストマイクロコントローラ上のピン数を節約できます。さらに、絶縁型ADC(ADE9112/ADE9113)をデイジーチェーン接続できます。データインテグリティを維持するために、独立した巡回冗長性検査(CRC)を使用して、SPI通信時のエラーや、構成レジスタの意図しない変更を検出することが可能です。
特徴
- 4チャンネル(ADEMA124)または7チャンネル(ADEMA127)の高性能同時サンプリングΣΔ ADC
- SNR:最大105dB
- プログラム可能なサンプルレート:最大64kSPS
- 広い入力電圧範囲:±1.2VPK、848mVRMSフルスケール
- 高インピーダンス、差動入力
- 内部基準電圧温度係数:5ppm/°C(代表値)
- Rogowskiコイル用のデジタルインテグレータとハイパスフィルタを内蔵
- 高速起動:有効な電源供給後0.5ms以内に初回サンプリングを実行
- 改ざん検出モード、バッテリバックアップ用の低電力
- 双方向CRCおよびdaisy-chain機能性を備えた4線式SPI
- 複数のADCデバイスのシンプルな同期
- 各チャンネルのゲイン、位相、オフセット補償
- SPI読出し可能な一意の部品IDレジスタ
- 消費電力:7チャンネルADCでもわずか18mW
- 広い温度範囲-40°C ~ +125°C
- 小型の32ピン、5mm x 5mm LFCSPパッケージ
- 湿度感度レベル(MSL)3
アプリケーション
- 多相エネルギーメータ
- 分相エネルギーメータ
- 分岐回路モニタリング
- 配電装置
- 電力品質のモニタリング
- サーキットブレーカ
- 保護リレー
- 電気自動車の供給装置
リソース
- ADEMA124/ADEMA127 キャリブレーションガイド
- アプリケーション・ノート AN-2625 - 複数のADE ADCを使用した設計
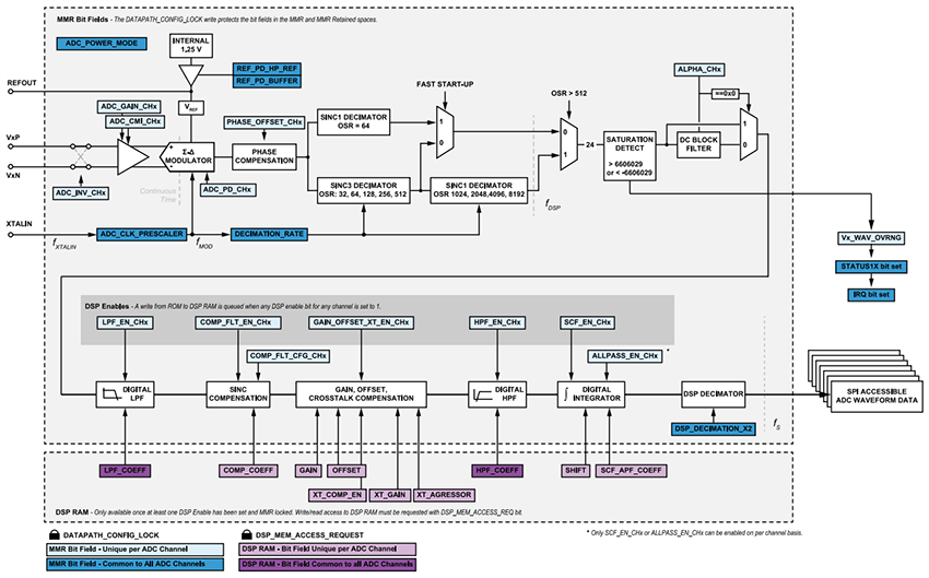
機能ブロック図
データパス
公開: 2025-12-02
| 更新済み: 2026-01-02
