 |
|
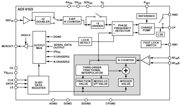
Analog Devices ADF4169フラクショナルN 周波数シンセサイザAnalog Devices ADF4169フラクショナルN周波数シンセサイザは、変調の13.5GHzシンセサイザです。 ADF4169は、低速および高速波形生成機能を実現しています。 このデバイスは、25ビット固定モジュラスが特徴です。 このモジュラスによって、サブヘルツの周波数分解能が可能になります。
ADF4169シンセサイザは、プログラマブルリファレンスディバイダ、低ノイズデジタル位相周波数検出器(PFD)、高精度充電ポンプが特徴です。 ∑-Δベースのフラクショナルインターポレータによって、プログラマブルフラクショナルN分配が可能になります。 シンセサイザのINTおよびFRACレジスタは、N = INT + (FRAC/225)として全体的なNディバイダを定義します。 シンプルな3線式インターフェースがオンチップレジスタを全て制御します。
ADF4169シンセサイザを使用して周波数位相キーイング(FSK)および位相シフトキーイング(PSK)変調を統合できます。 さらに周波数ドメインでのさまざまな波形に、周波数掃引モードを利用できます。 自動実行のために掃引を設定することができます。また手動での各設定に外部パルストリガを使用できます。
サイクルスリップ低減回路を搭載した設計が可能であり、ループフィルタに修正なしでより高速なクロック時間を実現できます。
ADF4169は、2.7V~3.45Vアナログ電源および1.8V~2.0Vデジタル電源で動作します。 使用しない時は、ADF4169シンセサイザの電源を切ることができます。
|
特徴 - 13.5GHzまでのRF帯域幅
- 高速/低速FMCWランプ生成
- 25ビット固定係数によって、サブヘルツの周波数分解能が可能
- 最大130MHzのPFD周波数
- -224dBc/Hzの正規化位相ノイズフロア
- FSKおよびPSK機能
- ノコギリ波や三角波の生成
- FSKと重ね合わせたランプ
- 2つの異なる掃引速度を有するランプ
- ランプ遅延、周波数リードバック、割り込み機能
- プロブラマブル位相制御
- 2.7V~3.45Vのアナログ電源
- 1.8V~2Vデジタル電源
- プログラマブル充電ポンプ電流
- 3線式シリアルインターフェース
- デジタルロック検出
- ESD性能: 3000V HBM、1000V CDM
- 車載アプリケーション向けに品質評価済
アプリケーション |
機能ブロック図
 |
|
 |
公開: 2015-09-29
| 更新済み: 2022-03-11