Analog Devices Inc. ADF4382xフラクショナルNフェーズロックループ(PLL)
Analog Devices ADF4382xフラクショナルNフェーズロックループ(PLL)は、高性能、超低ジッタのフラクショナルNフェーズロックループ(PLL)です。電圧制御発振器(VCO)を内蔵しており、5Gやデータ・コンバータのクロック・アプリケーションの局部発振器(LO)生成に最適です。 高性能PLLは、-239dBc/Hzの特性指数、低1/fノイズ、整数モードで625MHzの高いPFD周波数を持ち、超低帯域内ノイズと積分ジッタを実現できます。ADF4382xは、11.5GHz~21GHzの基本波オクターブレンジの周波数を生成できるため、サブハーモニックフィルタが不要です。ADF4382xの2分周および4分周出力により、それぞれ5.75GHz~10.5GHzおよび2.875GHz~5.25GHzの周波数を生成できます。Analog Devices ADF4382xは、PLLフィードバックループに出力分周器を含めることにより、複数のデータコンバータクロックアプリケーションの入力基準エッジに出力を自動的に合わせます。決定論的な遅延または遅延調整機能を必要とするアプリケーションには、1ps未満の分解能でプログラム可能な基準-出力遅延が提供されます。 複数のデバイスと温度にわたる基準-出力遅延のマッチングにより、予測可能で正確なマルチチップ・クロックとシステム基準(SYSREF)のアライメントが可能になります。ADF4382xのブロック図はシンプルで、シリアルペリフェラルインターフェイス(SPI)レジスタマップの簡素化、再現可能なマルチチップクロックアライメント、オフチップSYSREF生成による不要なクロックスパーの制限により、開発時間を短縮します。
特徴
- 出力周波数範囲 687.5MHz~22GHz
- 20GHzにおける統合RMSジッタ
- 20fs(積分帯域幅:100Hz~100MHz)
- 31fs(ADC SNR方式)
- 1μs未満の高速VCOキャリブレーション時間
- 100μs未満のVCO自動キャリブレーション時間
- 20GHzにおける−156dBc/Hzの位相ノイズフロア
- PLL仕様
- −239dBc/Hzの正規化された帯域内位相ノイズフロア
- −287dBc/Hzの正規化された1/f位相ノイズフロア
- 位相/周波数検出器の最大入力周波数:625MHz
- リファレンス入力周波数 4.5GHz
- 標準スプリアスFPFD :-90dBc
- 出力遅延の仕様(参照)
- 伝搬遅延の温度係数:0.06 ps/°C
- 調整ステップサイズ:1 ps未満
- マルチチップ出力位相アライメント
- 3.3Vおよび5V電源
- PLLループフィルタ設計効率化支援ADIsimPLL™ループフィルタ設計ツール対応
- 7mm × 7mm、48端子LGAパッケージ
- 動作温度範囲:-40°C~+105°C
アプリケーション
- 高性能データコンバータクロッキング
- 無線インフラストラクチャ (MC-GSM、5G、6G)
- 試験と計測
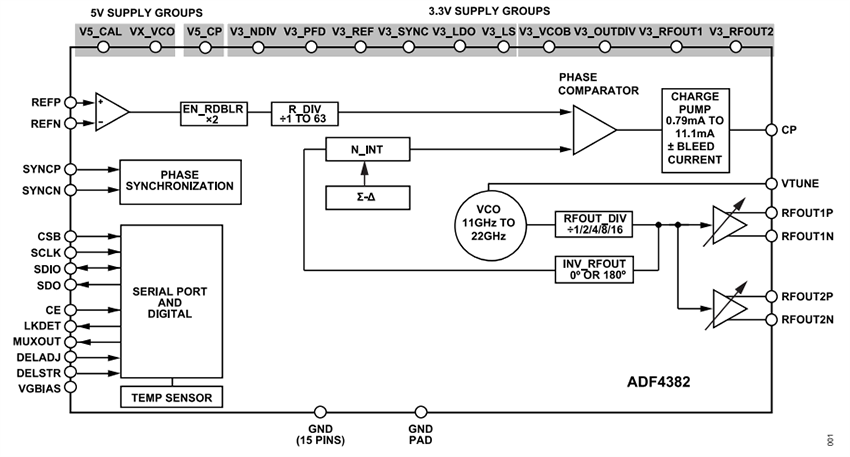
機能ブロック図
公開: 2024-07-05
| 更新済み: 2025-06-20
