Analog Devices ADIN1110低消費電力10BASE-T1LイーサネットMAC-PHYは、プログラマブル送信レベル、外付け端子抵抗器、独立型Rx/Txピンを実現しており、本質的な安全アプリケーションを対象としたデバイスを実現できます。ADIN1110には、集積電圧供給監視および電源ONリセット回路があり、システムレベルの堅牢性を向上させます。
イーサネットMAC-PHYには、MACとホストプロセッサの間の通信を目的に4-Wire SPIインターフェイスが搭載されています。ADIN1110は、6mm x 6mm 40-leadパッケージに格納されています。
特徴
- 自動ネゴシエーション機能
- 本質安全アプリケーションをサポート
- 外付け終端レジスタ
- 個別のRx/Txピン
- 集積MAC(SPIインターフェイス搭載)
- 10Mb/secフルデュプレックスをサポートしているSPIインターフェイス
- Open Alliance 10BASE-T1x MAC-PHYシリアルをサポート
- インターフェイス
- SPI経由でアクセスできるMDIOメモリーマップ
- オンチップFIFO: 20kB受信、8kB送信
- カットスルーまたはストア・アンド・フォワード操作
- Rxの高優先度キューと低優先度キュー
- IEEE 1588タイムスタンプサポート
- 統計カウンタ
- フレームフィルタリングでサポートされている16個のMACアドレス
- 10BASE-T1L IEEE® Std 802.3cg-2019TM準拠
- 1.0V pk-pkおよび2.4V pk-pk送信レベルをサポート
- ピンストラップを使用した構成管理なし:
- マスター/スレーブ選択
- 送信振幅
- 25MHzクリスタル発振器/25MHz外部入力クロック
- 1.8V/3.3V単電源動(モード独立)
- ケーブルリーチ
- 1700メートル+(1.0V pk-pk)
- 1700メートル+(2.4V pk-pk)
- 低電力消費 – 両電源42mW(標準)
- リンクLED
- 小型パッケージ40リード、6mm×6mm LFCSP
- 広い温度範囲: -40°C~+105°C
アプリケーション
- プロセス制御
- ファクトリーオートメーション
- ビルオートメーション
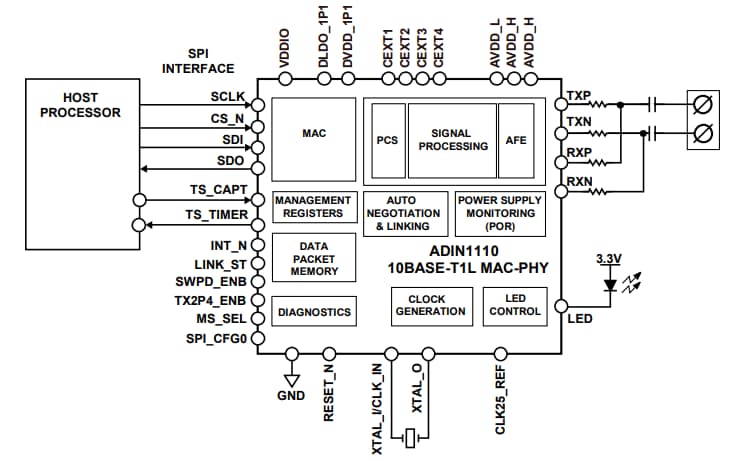
機能ブロック図
記事
10BASE-T1L MAC-PHYによって低消費電力プロセッサ・イーサネット接続を簡素化する方法
最大1kmの2本のワイヤで、電力供給(設計された電源/PoDL/SPoE)と組み合わされた10Mbイーサネット物理層(10BASE-T1L)によって、変換されたIT/OTイーサネットネットワークを介してより高い価値のインサイトを生成する、新しいタイプのイーサネット接続デバイスが可能になります。
10BASE-T1Lシングルペア・イーサネット状態監視振動センサの設計
この記事では、電源設計、機械的設計、MEMSセンサ選択、完全センサソリューションのためのソフトウェアを始めとするCbMセンサ用の、小型で共有された電力とデータ・インターフェイス(PoDL)の設計方法について説明します。
ビデオ
公開: 2021-03-22
| 更新済み: 2025-03-04

