Analog Devices Inc. ADIN1300 10/100/1000ギガビット・イーサネットPHY
Analog Devices ADIN1300 10/100/1000ギガビットイーサネットPHYは、低消費電力シングルポートのギガビット・イーサネットトランシーバで、工業用イーサネットアプリケーションのために主に設計した、業界をリードするレイテンシの仕様を満たしています。このデザインは、エネルギー効率の良いイーサネットPHYのコア、さらに関連する通常のアナログ回路、入力および出力クロックバッファリング、管理インターフェイス、サブシステムレジスタを統合しています。MACインターフェイスや制御ロジックも含み、リセット、クロック制御とピン構成を管理することができます。特徴
- 10BASE-TE/100BASE-TX/1000BASE-T IEEE® 802.3TM適合MII、RMII、RGMII MACインターフェイス
- 1000BASE-T RGMIIレイテンシTX <68ns、RX <226ns
- 100BASE-TX MIIレイテンシTX <52ns、RX <248ns
- EMCのテスト基準
- IEC 61000-4-5サージ (±4kV)
- IEC 61000-4-4電気的高速過渡(EFT) (±4kV)
- IEC 61000-4-2 ESD (±6kV接触放電)
- IEC 61000-4-6伝導耐性 (10V)
- EN55032放射妨害波 (CLASS A)
- EN55032伝導妨害波 (CLASS A)
- マルチ・レベル・ピンストラッピングを使用した構成管理なし
- IEEE802.3az準拠の省電力型のイーサネット(EEE)
- IEEE 1588タイムスタンプ用フレーム検出の開始
- 向上したリンク検出
- 構成可能なLED
- クリスタル発振器/25MHzのクロック入力(50MHzのRMII)
- 25MHz/125MHz同期クロック出力
- 小型パッケージと広い温度範囲:
- 40リード (6mmx6mm) LFCSP
- -40°C~+105°Cの周囲作用温度に指定
- 低消費電力
- 330mW - 1000BASE-T
- 140mW - 100BASE-TX
- 3.3V/2.5V/1.8VのMACインターフェースVDDIOを供給
- 統合された電源電源監視およびPOR
アプリケーション
- 産業用オートメーション
- プロセス制御
- ファクトリオートメーション
- ロボティックス/モーション制御
- ビルオートメーション
- テストおよび測定
- 産業用IoT
ビデオ
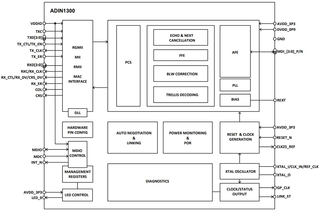
機能ブロック図
その他の資料
IEEE規格がIndustry 4.0を進歩させる5つの方法
時間が重視されるネットワーキング(TSN)、一連のIEEE Ethernet規格は、Industory 4.0の多くの強力な成果に対応するための基礎です。TSNを使用すると、フロアからサーバ、フロントオフィス、およびそれらの間のどこにでもある工場全体のすべてのデータを共存させ、通信を行うことができます。TSNが鍵となる5つの方法を発見しましょう。
過酷な産業環境において時間が重要となる通信を目的のための堅牢なイーサネット物理層ソリューション
ITおよびOTネットワークのシームレスな接続を実現してIndustry 4.0の価値を引き出すために、産業アプリケーションを対象に設計された拡張物理層テクノロジーが重要な設計選択となります。堅牢な産業Ethernet PHYテクノロジーは、電力、レイテンシ、ソリューションサイズ、105°C周囲温度、堅牢性(EMC/ESD)、長い製品寿命の課題を解決し、コネクテッド工場の基盤となります。
Industry 4.0への移行を加速
Industry 4.0ビジョンの中核は、情報を収集、送信、受信する機能があるコネクテッドデバイスを使用してプロセスを自動化する能力です。ADIの産業用Ethernetソリューションを活用して明日のスマート工場への移行を加速させます。
多軸ロボットと機械工具アプリケーションでのタイミングの課題
性能、マルチタスク、同期型モーションの各アプリケーションにおいて、タイミング要件は正確、確定的、タイミングが重要です。エンドツーエンドのレイテンシを最小限に抑える方法を発見します。特に、制御サイクル時間が短くなり、制御アルゴリズムの複雑性が増します。
10BASE-T1L接続で現場にシームレスなEthernetを提供
10BASE-T1Lは、フィールドレベル・デバイス(センサとアクチュエータ)へのシームレスなEthernet接続によって工場の稼働効率を大幅に向上させることで、プロセスオートメーション業界をに大きな変化をもたらします。
Ethernet-APL: 実行可能な洞察でプロセスオートメーションを最適化
Ethernet-APLは、高帯域幅、フィールドデバイスへのシームレスなEthernet接続を実現することによって、プロセスオートメーションの世界を変えるでしょう。これによって、これまで現場へのEthernetの使用が制限されていた課題が解決されます。
