Analog Devices Inc. ADL8108低ノイズアンプ
Analog Devices Inc. ADL8108低ノイズ・アンプは、1GHzから8GHzの周波数範囲で動作するように設計された汎用性の高い低ノイズ・アンプです。これらのアンプは温度センサとパワーダウン制御ピンを内蔵しており、エネルギー効率の高いアプリケーションに最適です。ADL8108アンプは、50Ω インピーダンスの堅牢な入出力マッチングを実現します。これらのアンプは、小型の16リードLFCSP パッケージに収められており、熱効率と高周波環境での信頼性の高い性能を実現するように設計されています。ADL8108アンプは、電気通信、試験計測、軍事などに使用されています。特徴
- 5Vシングル・プラス電源、IDQ は公称値90mA
- RBIASドレイン電流調整端子
- 集積温度センサ
- 統合されたイネーブル/ディセーブル機能
- 3GHzから4.5GHzのゲイン:20dB(Typ.)
- 1GHzから4.5GHzのOIP3:35.5dBm(Typ.)
- 雑音指数3GHzから6GHzのノイズ指数:1dB(Typ.)
- 拡張動作温度範囲: -55°C~125°C
- RoHS対応、3mmx3mm、16リードLFCSPパッケージ
アプリケーション
- 電気通信
- テスト機器
- 軍事関連
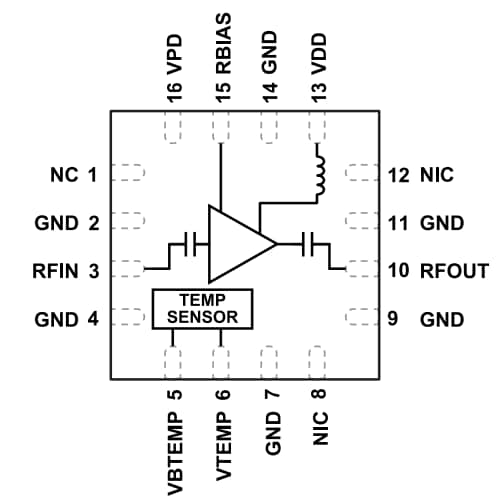
ブロック図
公開: 2025-01-27
| 更新済み: 2025-02-25
