Analog Devices Inc. ADM286xE絶縁RS-485トランシーバ
Analog Devices ADM286xE絶縁RS-485トランシーバは、5.7kVRMS 信号および電力絶縁RS-485トランシーバです。絶縁電源と接地ピンに2つの小さな外部0402フェライトを使用しした、マージンがある2層プリント基板(PCB)で、EN55032 Class B規格の放射エミッション試験に適合しています。これらのデバイスは、低電磁干渉(EMI)の統合型絶縁DC-DCコンバータを搭載しており、外部絶縁電源が不要です。絶縁バリアは、システムレベルの電磁適合性(EMC)規格に対する耐性を実現しています。RS-485 A、B、Y、ZピンはIEC61000-4-2 ESD保護適合で、接触放電±12kV、気中放電±15kVです。またケーブル反転ピンも搭載しているので、レシーバのフェイルセーフ性能を完全に維持しながら、A、B、Y、Zバスピンでケーブル接続の逆転を迅速に修正できます。スルーレート制限バージョンは、長いケーブル配線の低速度に最適化され、最大データレートは500kbpsです。フルデュプレックスとフルデュプレックスの型式でご用意があります。フルデュプレックス・ジェネリックを使用すると、ドライバとレシーバを独立してケーブル反転させることでき、柔軟性が向上します。
特徴
- 5.7kVrms 絶縁RS-485/RS-422トランシーバ
- 低放射妨害波、集積、絶縁型DC-DCコンバータ
- EN55032 PCB Class B適合、マージン付き2層PCB
- スマートなケーブル反転機能により、レシーバのフェイルセーフを完全に維持しながらA、B、Y、Zバスピンでの逆ケーブル接続を修正可能
- RS-485 A、B、Y、ZピンのESD保護
- ≥±12kV IEC61000-4-2接触放電
- ≥±15kV IEC61000-4-2空隙放電
- ハイスピード25Mbpsデータレート(ADM2865E/ADM2867E)
- EMI制御のためのロースピード500kbpsデータレート(ADM2861E/ADM2863E)
- 柔軟性に富んだ電源
- 入力VCC 電源:3V ~ 5.5V
- ロジックVIO 電源:1.7V ~ 5.5V
- VISO 電源:5V(VCC > 4.5V)または3.3V、VSEL ピンで選択
- PROFIBUSに準拠した5VVISO
- 動作温度:-40°C~+105°C と広範囲
- コモンモード過渡電圧耐性:250kV/μsと高い
- 短絡、オープン回路、フローティング入力レシーバのフェイルセーフ
- 196バスノード(72kΩレシーバ入力インピーダンス)に対応
- 完全ホットスワップ対応(リッチフリーパワーアップ/ダウン)
- CSA部品受け入れ通知書5A、DIN V VDE V 0884-11、UL 1577、CQC11-471543-2012、IEC 61010-1
- 28リード、ファインピッチSOIC _ Wパッケージ(10.15mm × 10.05mm)、>8.0mm沿面距離とクリアランス
アプリケーション
- 過熱、換気、空調(HVAC)ネットワーク
- 工業用フィールドバス
- ビル用オートメーション
- ユーティリティネットワーク
- エネルギーメーター
ビデオ
ADM2861E/ADM2865Eブロック図
ADM2863E/ADM2867Eのブロック図
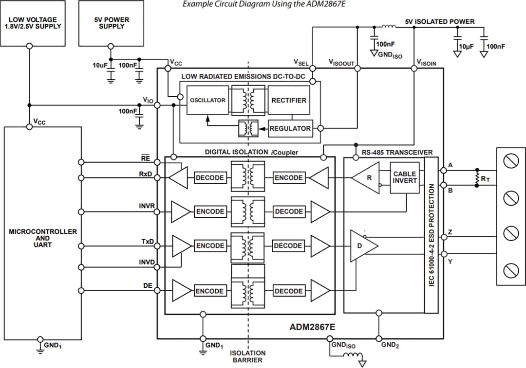
標準アプリケーション回路
公開: 2020-06-08
| 更新済み: 2025-03-04
