Analog Devices / Maxim Integrated ADPL12008降圧コンバータ
Analog Devices / Maxim Integrated ADPL12008降圧コンバータは、統合型同期降圧コンバータで、ハイサイド・スイッチとローサイド・スイッチを内蔵しています。これらの降圧コンバータは、3V~20Vの入力電圧で最大8A/10Aを供給するように設計されています。ADPL12008降圧コンバータは、非常に高いデューティサイクルによりドロップアウト・モードでの動作が可能なため、ファクトリーオートメーションのアプリケーションに適しています。これらのADPL12008 ICは、小型(3.5mm × 3.75mm)の17ピン・フリップチップ・クワッド・フラット・ノーリード(FC2QFN)パッケージでご用意があります。ADPL12008降圧コンバータは、ADPL12005/ADPL12006(5A~6A)ファミリのデバイスと互換性があります。これらの降圧コンバータは、 ファクトリーオートメーション、ポイントオブロード、分散DC電源システム、通信インフラ、試験と計測に最適です。ADPL12008コンバータには、プログラム可能な出力電圧オプションが用意されており、1.5MHzおよび400kHzの高スイッチング周波数オプションによって外付け部品の小型化と出力リップルの低減が可能です。これらの降圧コンバータは、-40°C〜150°Cの接合部温度範囲で動作します。
特徴
- 小型ソリューションサイズの高出力DC/DCコンバータ:
- 動作可能なVIN 範囲:3V~20V
- FETを内蔵した同期DC/DCコンバータ
- 最大出力電流: 8A/10A
- 固定周波数のオプション:400kHzと1.5MHz
- 固定のソフトスタート時間:
- 2.5ms(400kHz)
- 3.5ms(1.5MHz)
- 最小オンタイム:36ns
- プログラム可能な出力電圧:
- 0.8V~10V (400kHz)
- 0.8V~6V (1.5MHz)
- 対称的でバランスの取れたSUPおよびPGNDピン配列により電磁干渉(EMI)性能を向上
- 放熱特性を高めた17ピンFC2QFNパッケージ(3.5mm x 3.75mm)
- 全負荷範囲で高効率を実現:
- スキップ・モードでの自己消費電流:20μA
- 12VIN/3.3VOUT/400kHzでの最大効率:95.6%
- 12VIN/3.3VOUT/1.5MHzでの最大効率:93.9%
- デュアルフェーズ動作により最大20Aの負荷に対応:
- 周波数同期入力/出力
- コントローラとターゲット間で180°位相ずれ
- ダイナミック電流共有
- 強制PWM動作とスキップ・モード動作
- 低ドロップアウト動作
- 電源正常インジケータ
- 温度過昇と短絡の保護
- 接合部動作温度範囲:-40°C〜150°C
- スケーラブルソリューション
- ADPL12005/ADPL12006とフットプリント互換性あり
アプリケーション
- ファクトリーオートメーション
- ポイントオブロード
- 分散DC電源システム
- 通信インフラ
- テストと測定
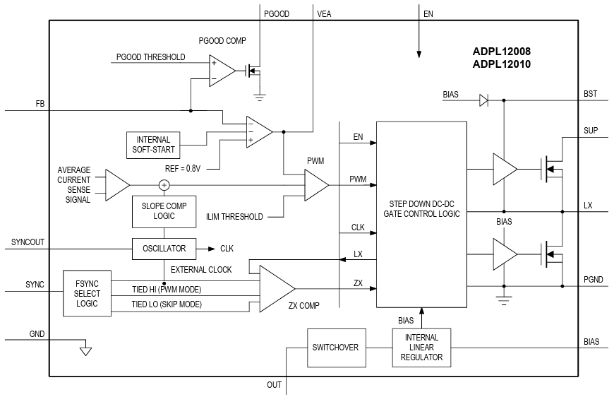
ブロック図
ピン構成
公開: 2025-09-15
| 更新済み: 2025-10-02
