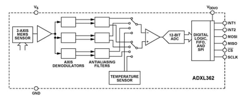
ADXL362加速度計には、12ビット出力分解能と8ビットのフォーマット済データがあり、さらに低い分解能で十分な際にもっと効率的なシングルバイト伝送も実現しています。このデバイスは、±2g、±4g、±8gの計測範囲が特徴で、±2g範囲で1mg/LSBの分解能を備えています。2つのさらなる低ノイズモード(最低175μg/√Hzまで)は、ノイズレベルがADXL362の通常の550μg/√Hzを下回ることが望ましいアプリケーションを対象に、供給電流における最小増分で選択できます。
ADXL362には、などディープマルチモード出力FIFO、内蔵マイクロパワー温度センサ、複数のアクティビティ検出モードなど、真のシステムレベルの電力低減を実現できる多数の機能があります。これらのモードは、6Hzで測定レート最小270nAで実行できる調整可能な閾値スリープとウェイクアップ動作を備えています。
MEMS加速度計は、3mm × 3.25mm × 1.06mmパッケージでご用意があり、1.6V~3.5Vという広範な供給範囲で動作します。
特徴
- 超低消費電力
- 電力はボタン型電池から派生可能
- 1.8μA @ 100Hz ODR、2.0V供給
- 3.0μA @ 400Hz ODR、2.0V供給
- 270nAモーション起動ウェイクアップ・モード
- 10nAスタンバイ電流
- 高分解能: 1mg/LSB
- システムレベルの省電力用の内蔵機能
- 動きの有効化のための調整可能な閾値スリープ/ウェイク・モード
- 残りのシステムを完全に電源オフにできる、マイクロコントローラの介入を必要としない自律割り込み処理
- ディープ組み込みFIFOによってホストプロセッサ負荷を最小化
- 起動状態出力によって、スタンドアロン、モーション起動スイッチの実装が可能
- 低ノイズ: 最低175μg/√Hz
- 広い供給およびI/O電圧範囲: 1.6V~3.5V
- 1.8V~3.3Vのレールで動作
- 外部トリガからの加速サンプル同期
- オンチップ温度センサ
- SPIデジタルインターフェイス
- SPIコマンド経由で測定範囲を選択可能
- 小型・薄型3mm × 3.25 × 1.06mmパッケージ
アプリケーション
- 補聴器
- ホームヘルスケア機器
- モーション対応省電力スイッチ
- ワイヤレスセンサ
- モーション対応計測機器
その他の資料
予測保守のための適切な加速度計の選択
機械の健康状態を監視することで予測保守が可能になり、産業における故障の予測と大幅な運用上の節約とダウンタイムを実現できます。保守動作のトリガに適した時間を判断するために、メーカーは、振動、ノイズ、温度計測といったパラメータを使用しています。(エンジン、発電機などの)回転機械では、異常な振動がボールベアリングの不良、車軸の位置ずれ、アンバランス、または過度の緩みのサインになります。警戒を怠らず、低ノイズ・高帯域幅加速度計のすべての異常に関する初期サインを検出します。詳細
人体の状態ベースの監視
技術の進歩によって、バイタルサインのモニタリングは、さまざまな業界や日常生活でますます一般的になるでしょう。治療や予防に使用されるかどうかにかかわらず、このような健康関連のソリューションには信頼性が高く堅牢な技術が求められます。詳細について
ビデオ
ブロック図

