ADXRS453には、内部、連続自己テストアーキテクチャが採用されています。電気機械システムのインテグリティは、高周波静電力をセンサ構造に適用することによって確認でき、ベースバンド・レート・データと区別して内部で解析できるレート信号を生成できます。
Analog Devices Inc. ADXRS453は、16リード・プラスチックキャビティ小型外形統合回路(SOIC)パッケージで販売されており、ヨーレート(Z軸)センシングに最適です。また、ADXRS453は、革新的なSMT互換・垂直取付リードレス・チップキャリア(LCC)パッケージでもご用意があり、追加でボードを90°に取り付けることなくピッチ、ロール、またはヨー応答向けにすることができます。どちらのパッケージ・オプションも無鉛でRoHS指令に準拠しています。
特徴
- 単一チップ上の完全レートジャイロ
- ±300°/秒の角速度検出
- 超高振動除去: 0.01°/秒/g
- 優れた16°/時間 Nullバイアス安定性
- 内部温度補償
- 2000g駆動の高耐衝撃性
- 16ビットデータワードでのSPIデジタル出力
- 低ノイズおよび低消費電力
- 動作電圧範囲: 3.3V~5V
- 動作温度範囲: -40°C~+105°C
- 超小型、軽量、RoHS準拠
- パッケージオプション:
- ヨーレート(Z軸)応答のためのSOIC_CAV-16パッケージ
- ピッチ、ロール、またはヨー応答のためのLCC_V-14パッケージ
アプリケーション
- 高振動環境での回転センシング
- 高性能プラットフォームの安定化
- 産業用および計測機器アプリケーション向け回転センシング
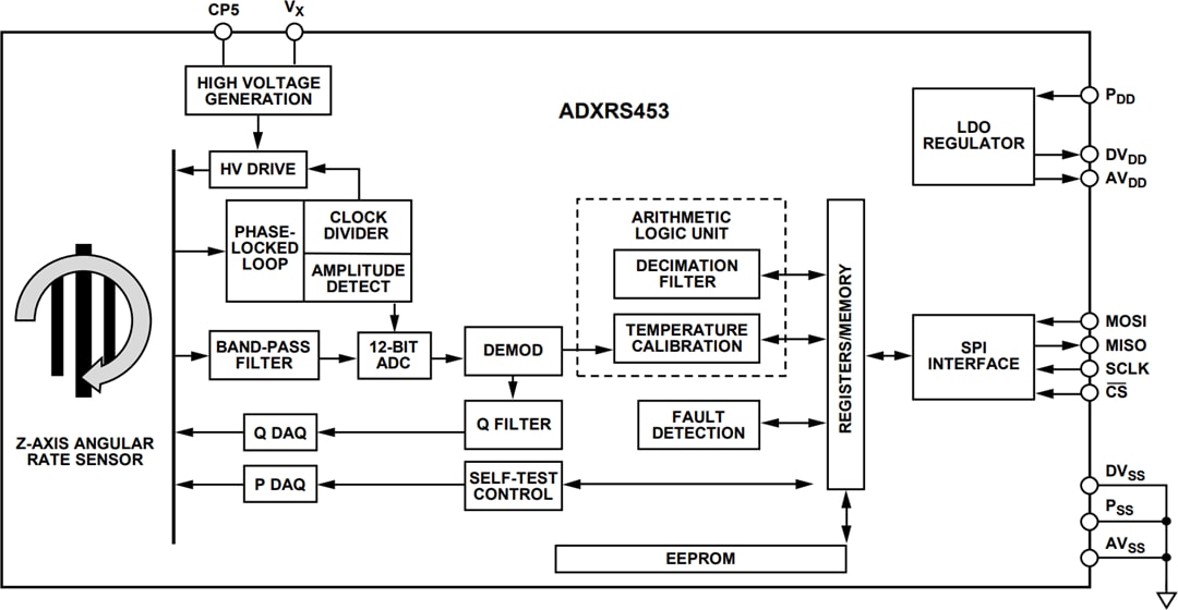
機能ブロック図
推奨アプリケーション回路
パッケージの外形 (SOIC_CAV)
パッケージの外形 (LCC_V)
公開: 2019-06-10
| 更新済み: 2024-02-16

