ADAQ4001µModule およびADAQ4003µModule は、複数の一般的な信号処理ブロックとコンディショニング ブロックを、低ノイズの完全差動アナログデジタル コンバータ (ADC) ドライバ、安定したリファレンス バッファ、高分解能、16 ビット、または18 ビット、2 Msps の逐次比較レジスタ (SAR) ADC、および最適なパフォーマンスに必要な重要な受動コンポーネント。
EVAL-ADAQ4001PMDZおよびEVAL-ADAQ4003PMDZには、下記のオンボード部品があります。
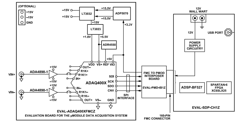
• ADR4550高精度、バッファ付きバンドギャップ、5.0V電圧リファレンス
•オプションのADA4898-1高電圧、低ノイズ、低歪み、ユニティゲイン安定、高速オペアンプ
•オプションのAD8251プログラマブルゲインインインインアンプ
• LT5400-4クワッド整合、低ドリフト、抵抗ネットワーク
特徴
- フル機能が搭載されたPmod評価ボード(Pmod to FMCインターポーザボード搭載)
- 多目的アナログシグナルコンディショニング回路
- オンボードリファレンス、ADCドライバ
- 時間領域と周波数領域の制御およびデータ分析を目的としたPCソフトウェア
- システムデモンストレーションプラットフォーム互換(EVAL-SDP-CH1Z)
キット内容
- EVAL-ADAQ4001PMDZまたはEVAL-ADAQ4003PMDZ Pmod評価ボード
- EVAL-PMD-IB1Z Pmod to FMCインターポーザボード
必要な機器
- Windows® 10またはそれ以降を実行するPC
- EVAL-SDP-CH1Z (SDP-H1)コントローラボード
- 高精度信号源
- ケーブル(評価ボードへのSMB入力)
- 標準 USB A - Mini-B USB ケーブル
- 16ビット/18ビットテストに適したバンドパスフィルタ(信号周波数に基づく値)
構成
ブロック図
公開: 2021-06-29
| 更新済み: 2025-03-25

