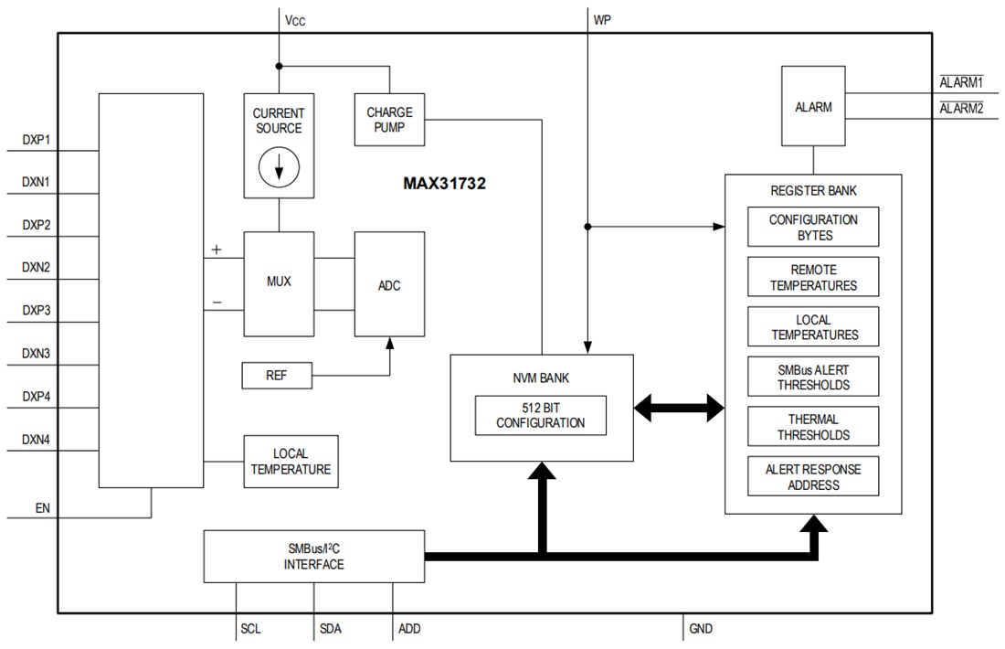
MAX31732は、2つのオープンドレイン、ALARM1およびALARM2のアクティブローアラーム出力を提供します。チャンネルの測定温度が一次過熱温度/低温度閾値レベルを超えると、ALARM1がLowをアサートし、対応するサーマルステータスレジスタ内のステータスビットがセットされます。チャンネルの測定温度が二次過熱温度/低温度閾値レベルを超えると、ALARM2がLowをアサートし、対応するサーマルステータスレジスタ内のステータスビットがセットされます。最高温度レジスタにより、コントローラは最も高温のチャネルの温度を取得することができます。
512ビットの不揮発性メモリ(NVM)により、MAX31732はソフトウェア/ファームウェアの介入なしに、起動時にコンフィギュレーションレジスタをプログラムすることができます。NVMはまた、後の分析のために、各リモートおよびローカルチャンネルの障害温度もキャプチャします。
2線式シリアルインターフェイスは、温度データの読み取りと温度閾値のプログラム用にSMBusプロトコル(読み取りバイト、書き込みバイト、送信バイト、受信バイト)に対応しています。アドレス選択入力(ADD)は、グランドまたは接地抵抗に接続することができ、利用可能な8つのターゲットアドレスのいずれかを選択するために使用されます。
このデバイスは、-40°C~+125°Cの動作温度範囲と3.0V~3.6Vの入力電源範囲で仕様化されています。Analog Devices MAX31732は、24ピン、4mm x 4mm TQFNパッケージで提供されます。
特徴
- 1つのローカルおよび4つのリモート温度検出チャンネル
- リモート温度測定精度:±1°C(-40°C~+125°C)
- リモート測定温度範囲:-64°C~+150°C
- リモートチャンネルの抵抗キャンセル:最大300Ω
- 低ベータトランジスタの補償
- 2つのプログラム可能な温度アラーム閾値
- 分解能:12ビット、0.0625°C
- 8つの選択可能なターゲットアドレス
- 様々なマイクロコントローラへの柔軟なI2C/SMBusインターフェイス
- 最大1.311の理想係数
- NVMにより構成と障害ロギングが容易
アプリケーション
- オンチップCPU、ASIC、SoC、FPGAダイオード、またはリモートディスクリートダイオードの温度測定
- 産業用熱管理
機能図
公開: 2024-08-09
| 更新済み: 2024-09-04

