Analog Devices / Maxim Integrated DS28C50 DeepCover® I2Cセキュア認証システム
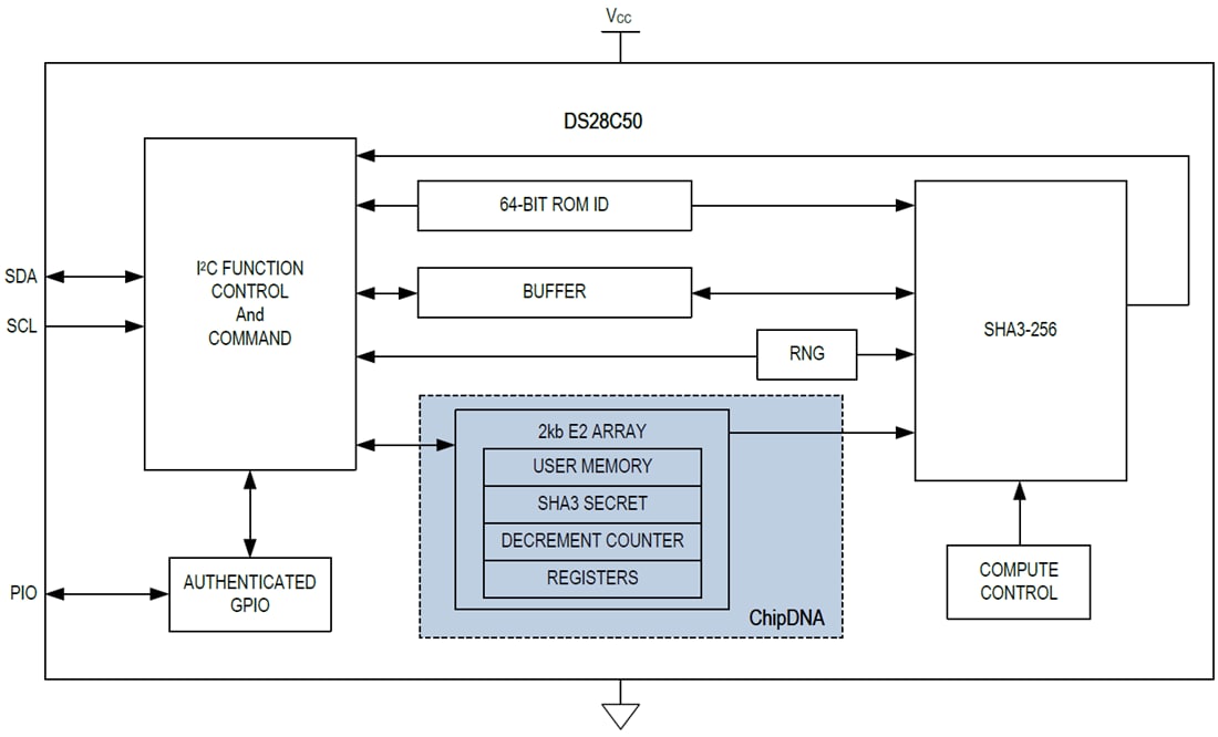
Maxim DS28C50 DeepCover® I2Cセキュア認証システムには、FIPS202準拠のセキュア・ハッシュ・アルゴリズム(SHA-3)チャレンジおよび応答認証が組み合わされており、Maximの特許取得済ChipDNA™テクノロジーが活用されています。このテクノロジーは、セキュリティ攻撃に対する究極の保護機能が搭載された費用対効果の高いソリューションを実現できる物理的に複製不可能な機能(PUF)を実現しています。ChipDNA実装には、ウェハ製造中に自然に発生する半導体デバイス特性のランダムな変動が活用されています。ChipDNA回路は、時間、温度、動作電圧での反復可能な固有の出力値を生成します。ChipDNA操作のプローブまたは観察の試みによって、基礎をなす回路特性を変更し、これによってチップ暗号機能で使用される固有値の発見を防止できます。DS28C50には、すべてのデバイスに格納されたデータを暗号で保護するための主要コンテンツとしてChipDNA出力が活用されています。ChipDNA機能が搭載されているこのデバイスは、統合ブロックから派生した暗号化ツールのコア・セットを実現しています。これらのブロックには、SHA-3エンジン、FIPS/NIST準拠の真の乱数発生器(TRNG)、2KbのセキュアードEEPROM、デクリメント専用カウンタ、固有の64ビットROM識別番号(ROM ID)が含まれています。固有ROM IDは、暗号操作のための基本的な入力パラメータとして使用されており、アプリケーション内で電子シリアル番号として機能します。DS28C50は、I2Cネットワークを介して通信を行います。
特徴
- セキュリティ攻撃からの堅牢な保護対策
- 特許取得済みの物理的にクローン化不可能な機能がデバイスデータを保護
- 積極的にモニタリングされたダイシールドが侵入試行を検出して反応
- すべての保存されているデータを検出から暗号保護
- 効率的なセキュア・ハッシュ・アルゴリズムによる認証
- チャレンジ/レスポンス認証のためのFIPS 202準拠SHA-3アルゴリズム
- FIPS 198準拠キーハッシュ・メッセージ認証コード(HMAC)
- NIST SP 800-90B準拠のエントロピーソースが備わったTRNG
- 最終アプリケーションに簡単に統合できる補完機能
- 17ビットワンタイム設定可能、認証済読取を用いた非揮発性デクリメント専用カウンタ
- オプションの認証制御を用いた1つのGPIOピン
- ユーザデータ、キー、制御レジスタのための2Kb EEPROM
- 固有かつ不変の出荷時設定の64ビット識別番号(ROM番号)
- 3.3V ±10%、-40°C~+85°C動作範囲
- 6-Pin TDFN-EPパッケージ(3mmx3mm)
- I2C通信、最高1MHz
アプリケーション
- 医療センサとツールの認証
- 使用限定消耗品の安全な管理
- IoTノード暗号保護
- アクセサリや周辺機器セキュア認証
- プリンタカートリッジ識別と認証
ブロック図
アプリケーションノート
公開: 2019-11-13
| 更新済み: 2023-05-04
