Analog Devices MAX20754多相電源コントローラは、コントローラと電力段デバイスの両方に電力を供給する統合スイッチングレギュレータが搭載されており、汎用性が高くなっています。MAX20754には、正確な負荷電流レポーティング、電力段温度監視、障害検出、豊富なPMBusコマンド・サポートが備わっています。ユーザーは、MAX20754から不揮発性メモリにPMBusパラメータを保存できます。
このコントローラは柔軟性に富んでおり、従来のディスクリートインダクタまたは結合インダクタトポロジとの併用が可能になります。結合インダクタは、リップル電流を増加させることなく効果的なインダクタの値とサイズを削減し、必要な出力容量を低減して過渡応答を向上させます。
MAX20754には、高度変調方式(AMS)が活用されており、従来のパルス幅変調(PWM)制御に比べて優れた過渡応答と必要な出力容量の削減を実現しています。AMSは、厳格な固定周波数PWM動作が必要な場合に無効にできます。
特徴
- 汎用性が高く柔軟性に富んだコントローラ
- 最大6つのPWM信号を生成
- 柔軟な位相割当を用いたシングルまたはデュアル電圧出力
- 0.5V~2.0V出力電圧範囲(MAX20754ETMA1+)
- 出力電圧範囲:0.25V~2.0V(MAX20754ETMA2+)
- 入力電圧範囲:4.5V~16V
- スイッチング周波数範囲: 300kHz~800kHz
- 全体的に小型ソリューションサイズでの高電力密度
- 結合インダクタ技術をサポート
- 高度な変調方式によって過渡応答を向上
- 高ループ帯域幅によって出力容量要件を削減
- 48ピン(7mm x 7mm)TQFNパッケージ
- サーマルバランスのための位相電流ステアリング
- コントローラと電力段に電力を供給する効率的な統合内部スイッチングレギュレータ
- シンプルなシステム構成
- 4つの外部レジスタが、出力電圧、バスアドレス、スイッチング周波数、電流制限を設定
- 包括的なPMBus構成、制御、テレメトリ
- PMBus規格、revision 1.3との互換性あり
- 10kHz~1MHzのバス速度
- 不揮発性メモリに格納されているPMBusコマンド設定
- 正確な電流、電圧、温度レポート
アプリケーション
- 通信、ネットワーキング、サーバ、ストレージ機器
- ASIC、DSP、FPGA
- マイクロプロセッサのチップセット
- DDRメモリ
ビデオ
基本アプリケーション回路
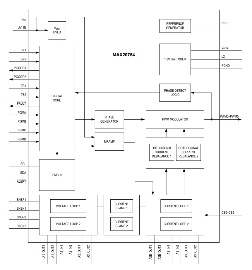
機能図
公開: 2021-10-18
| 更新済み: 2023-04-17

