特徴
- 電力消費を最小限に抑えるためのコード最適化が実現
- 広いダイナミックレンジ86dBがある2つの電力モニタ
- 電流および電圧を測定
- 積算電流のみ、または積算電力を計測可能
- スロー蓄積モードでの消費電力の削減
- パワーダウン モード
- 自律動作でのプロセッサ・オーバーヘッドを最小化
- チャネルあたり56ビットのパワーアキュムレータは、毎秒2048サンプルで2.77時間のデータをキャプチャ
- チャンネルあたり14ビット電圧レジスタ
- 高集積ソリューションによって部品数、PCBスペースを最小限に抑えBOMコストを削減
- 電流検出電圧 5µV~100mV(電流コモンモード範囲 0.5V~24V)
- 16のプログラマブルI2Cアドレス
- I2C/SMBusインターフェイス、バスタイムアウト搭載
- 温度範囲:-40°C~+85°C
- 小型WLP(フットプリント 2.24mm x 1.91mm、0.5mmピッチ、12バンプ) 、TDFNピン(フットプリント 3mm x 3mm)パッケージ
- 開発のしやすさ
- 高度GUIを搭載した評価キット
アプリケーション
- タブレット
- ウルトラノートブック
- ワークステーション
- サーバー
- VR/ARヘッドセット
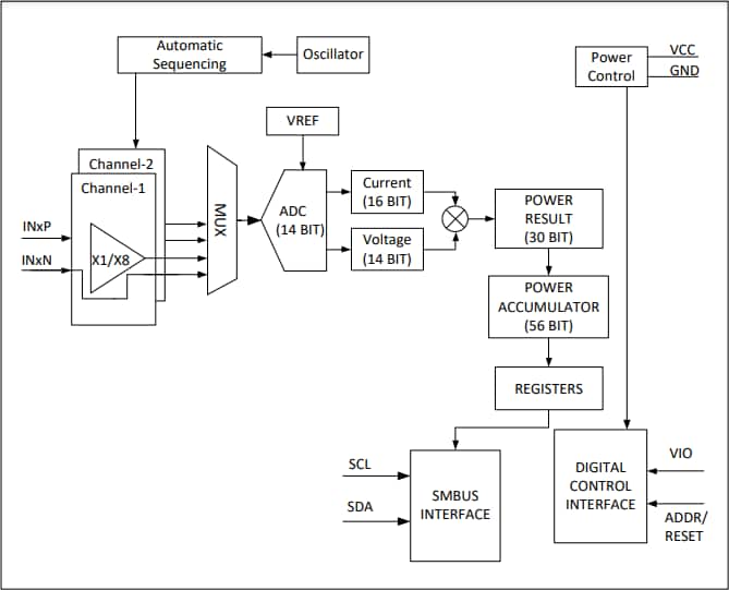
ブロック図
公開: 2022-11-29
| 更新済み: 2023-04-14

