Broadcom AFBR-S10TR001Zトランシーバ
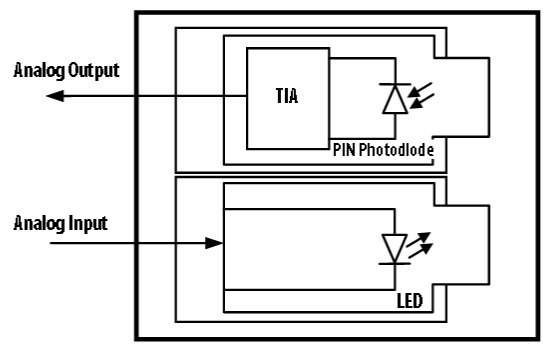
Broadcom AFBR-S10TR001Zトランシーバは、RJコネクタに類似したフォームファクタが備わった非常にコンパクトな設計になっています。コンパクトなキー付きの汎用性の高いリンクデュプレックスコネクタで、シンプレックス多目的リンク・コネクタが備わっています。レシーバは単体のICにPDとTIAで構成されていますが、このトランシーバにはシステムのセルフテストアプリケーション用のLEDも統合されています。AFBR-S10TR001Zトランシーバによって、1mmプラスチック光ファイバ(POF)センサで光学アークフラッシュセンサの実装が可能になります。この無鉛およびRoHS準拠のトランシーバは、アークフラッシュ検出に使用されます。特徴
- システムのセルフテストアプリケーション向け統合LED
- 高EMI堅牢性
- 高速スルーレート
- コンパクトなフットプリント
- 温度範囲:-40ºC~85ºC
- RoHS準拠
- 汎用性の高いリンクコネクタシステム
ブロック図
公開: 2017-05-04
| 更新済み: 2022-03-11
