Broadcom APDS-9922/APDS-9160センサ
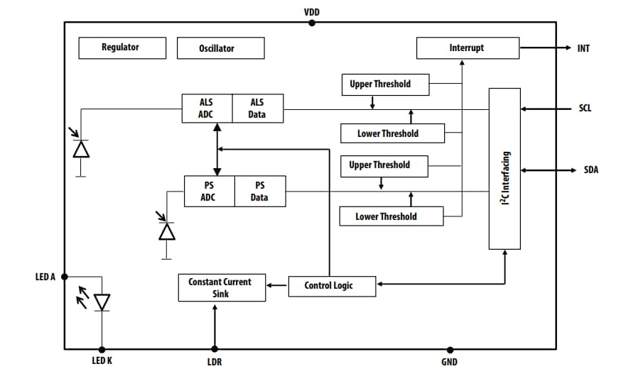
Broadcom APDS-9922/APDS-9160周囲光・近接センサは、デジタルI2C互換インターフェイス周囲光センサ(ALS)およびIR LEDが搭載された近接センサを実現しており、単一8ピン・パッケージに収められています。ALSを使用すると、暗い場所あるいは暗いフェイスプレートの背後での光強度に対する明所視の反応が可能になります。このデバイスは、出力カウントが周囲光レベルに比例している場合に、直接の読出を実現することで人間の目の応答に近似します。APDS-9922/APDS-9160センサは、低光機能が特徴で、暗いガラスの背後での動作が可能です。近接検知機能は、明るい陽射しから暗い部屋まで、首尾よく機能します。モジュール内のマイクロ光学レンズを使用すると、全体的な電力消費を減らす赤外線エネルギーの効率性の高い送信と受信が可能になります。このデバイスには、低消費電力スタンバイ・モードが活用されており、非常に低い平均電力消費がもたらされています。特徴
- 光モジュールでのALS、IR LED、近接検出器
- 周囲光センシング(ALS)
- 光強度に比例した光出力
- 人間の目のようなスペクトル応答をエミュレートする光コーティング技術を活用
- さまざまな光源条件下での良好な作動
- 低光感度 - 暗いガラスの裏側で動作
- 最大20ビットの解像度
- 近接検出
- 統合IR LEDと同期LEDドライバ
- 最高11ビット分解能
- 電源管理
- 小アクティブ電流
- 小スタンバイ電流
- I2Cインターフェイス互換
- 最大400kHz(I2C高速モード)
- 専用の割込ピン
- 広い供給電圧: 1.7V~3.6V
- 小型パッケージ
アプリケーション
- 携帯電話のバックライト調光
- 携帯電話タッチスクリーンの無効化
- 自動スピーカ対応
- デジタル・カメラEYEセンサ
APDS-9160-003のブロック図
APDS-9922-001のブロック図
公開: 2018-12-17
| 更新済み: 2024-09-19
