Cirrus Logic CS431xx High-Performance DACs
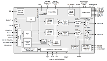
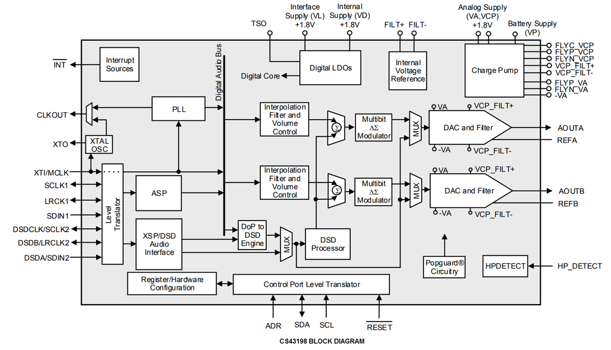
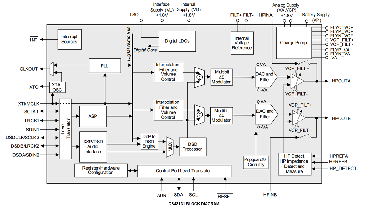
Cirrus Logic CS431xx High-Performance DACs are 32-bit resolution stereo audio DACs that support up to 384kHz sampling frequency. These DACs come with integrated low-noise ground-centered headphone amplifiers (CS43131) and pseudo-differential analog outputs (CS43198). The integrated ground-centered stereo headphone amplifiers can deliver more than 30mW into 32Ω load or 5mW into 600Ω load per channel at full performance. The CS431xx DACs eliminate distortion due to on-chip mismatch by utilizing an advanced 32-bit oversampled multi-bit modulator with mismatch shaping technology. These DACs minimize pre-echos and ringing artifacts by using proprietary digital-interpolation filters that support five selectable filter responses with pseudo-linear phase and ultra-low latency.The CS431xxx DACs feature enhanced ΔΣ oversampling DAC architecture, headphone detection, integrated PLL, mono mode support, and direct DSD path support. These DACs accept I2S, left-justified, right-justified, and TDM-format PCM data at sample rates from 32kHz to 384kHz. The high-speed I2C interface provides easy configuration control with up to 1MHz operation.
CS431xxx DACs consist of an integrated PLL that allows maximum clocking flexibility in any system and Popguard® technology that eliminates output transients upon power-up/-down events. These DACs operate within a -10°C to +70°C temperature range and are available in a 42-ball WLCSP or 40-pin QFN package. Typical applications include tablets, smartphones, powered speakers, home theatre systems, and pro audio.
Features
- Enhanced ΔΣ oversampling DAC architecture
- 32-bit resolution
- Up to 384kHz sampling rate
- Low clock jitter sensitivity
- Auto mute detection
- Integrated high-performance outputs (CS43198) with up to 2VRMS pseudo-differential stereo analog output
- Integrated high-performance ground-centered stereo headphone outputs (CS43131)
- Up to 2VRMS stereo output
- Headphone power output
- 30mW per channel into 32Ω
- 5mW per channel into 600Ω
- Headphone detection
- Headphone DC and AC impedance measurement (CS43131)
- Headphone plug-in detection
- Alternate headphone input (CS43131)
- 130dB dynamic range (A-weighted)
- -115dB total harmonic distortion + noise (THD+N)
- 110dB interchannel isolation
- Popguard technology eliminates pop noise
- Integrated PLL
- Mono mode support
- I2C control up to 1MHz
- Wideband flatness mode support
- Direct Stream Digital (DSD®) path
- Up to DSD256fs
- Patented DSD processor
- On-chip 50kHz filter to meet Scarlet Book Super Audio Compact Disk (SACD) recommendations
- Matched PCM and DSD analog output levels
- Nondecimating volume control with 0.5dB step size and soft ramp
- DSD and Pulse-Code Modulation (PCM) mixing for alerts
- Dedicated DSD and DoP pin interface
- Serial audio input path
- Programmable Hi-Fi digital filter
- Five selectable digital filter responses
- Low-latency mode minimizes pre-echo
- 110dB of stopband attenuation
- Supports sample rates from 32kHz to 384kHz
- I2S, right-justified, left-justified, TDM, and DSD-over-PCM (DoP) interfaces
- Master or slave operation
- Volume control with 0.5dB step size and soft ramp
- 44.1KHz deemphasis and inverting feature
- 42-ball WLCSP or 40-pin QFN package
- 5mm x 5mm in dimension
Applications
- Smartphones
- Tablets
- Portable media players
- Laptops
- Digital headphones
- Powered speakers
- AVR
- Home theatre systems
- Blu-ray/DVD/SACD players
- Pro audio
| 部品番号 | データシート | シリーズ | パッケージ/ケース | 説明 |
|---|---|---|---|---|
| CS43198-CNZR | ![]() |
CS43198 | QFN-40 | オーディオ D/A コンバータ IC 130db 32-Bit High Performance DAC |
| CS43131-CNZ | ![]() |
CS4313 | QFN-40 | オーディオ D/A コンバータ IC 130dB 32-bit Hi-Perf DAC w/HP Drvr ImpDe |
| CS43131-CNZR | ![]() |
CS4313 | QFN-40 | オーディオ D/A コンバータ IC 130dB 32-bit Hi-Perf DAC w/HP Drvr ImpDet |
| CS43131-CWZR | ![]() |
CS4313 | WLCSP-42 | オーディオ D/A コンバータ IC 130dB 32-bit Hi-Perf DAC w/HP Drvr ImpDet |
| CS43198-CWZR | ![]() |
CS43198 | WLCSP-42 | オーディオ D/A コンバータ IC 130db 32-Bit High Performance DAC |

