Diodes Incorporated AH332x高電圧ホール効果ユニポーラスイッチ
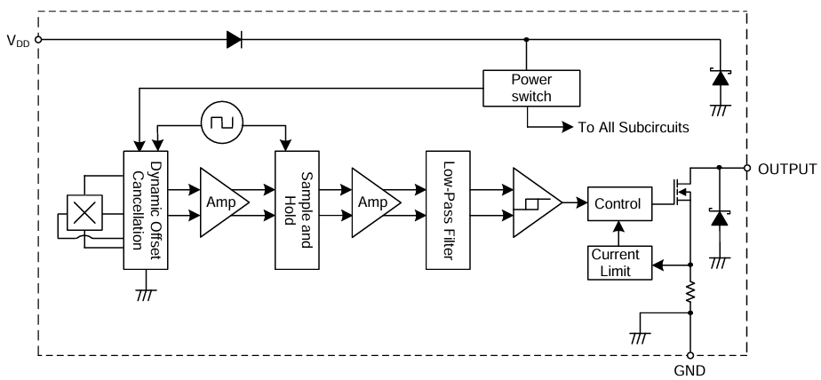
Diodes Incorporated AH332x高電圧ホール効果ユニポーラスイッチは、工業およびコンシューマーアプリケーション向けに設計されています。これらのアプリケーションには、家電製品やパーソナルケアデバイスでの近接性、位置、レベル検出があります。Diodes Incorporated AH332xは、3.0V~28Vの供給範囲内でシームレスに動作し、さまざまな要求の厳しい用途との互換性が保証されます。チョッパ安定性アーキテクチャと内部バンドギャップレギュレータには、温度補償供給が備わっており、動作範囲全体での信頼性を目的としています。さらに、このデバイスには、電源にZenerクランプが搭載された逆阻止ダイオード、過電流制限、出力にZenerクランプといった保護機能が組み込まれています。特徴
- ユニポーラ動作
- 30G~115Gおよび20G~90Gの標準高感度のBOPおよびBRP
- 過電流制限が備わった単一のオープンドレイン出力
- 動作電圧範囲: 3.0V~28V
- 物理的ストレスに対する耐性
- チョッパ安定性設計によって優れた温度安定性を実現
- 最小限のスイッチポイントドリフト
- ストレスに対して強化された耐性
- 優れたRFノイズ耐性
- 逆阻止ダイオード
- 電源および出力ピンのZenerクランプ
- 動作温度:-40°C~+125°C
- 8kV高ESD HBM
- 業界標準SC59、SOT23(タイプS)、SIP-3(弾薬パック)、SIP-3(バルクパック)パッケージ
- 完全無鉛でRoHSに完全準拠
- ハロゲンとアンチモンフリー「グリーン」デバイス
アプリケーション
- 家庭用電化製品、ビルオートメーション、オフィス機器、産業用アプリケーションでの位置と近接性検出
- 開閉検出
- 位置検出
- レベル検出
- 流量計
- 非接触スイッチ
代表的なアプリケーション回路
ブロック図
公開: 2024-02-21
| 更新済み: 2024-03-06
