Diodes Incorporated AH3722A & AH3724Aホール効果ラッチIC
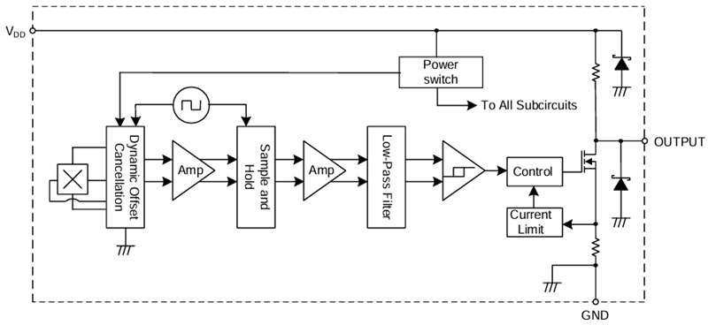
Diodes Incorporated AH3722AおよびAH3724Aホール効果ラッチICは、ブラシレスDCモータ、流量計、リニアエンコーダ、位置センサなど、さまざまなアプリケーション向けに設計されています。Diodes Incorporatedは、広範なアプリケーションをサポートしており、3.0V~28Vの供給範囲全体で動作します。このICには、チョッパ安定性アーキテクチャおよび内部バンドギャップレギュレータがあり、回路の温度補償供給が保証されます。さらに、このICには、供給と出力のZenerクランプと過電流制限が搭載されており、堅牢性と保護の強化を目的としたZenerクランプが備わっています。特徴
- バイポーララッチ(S極:オン、N極:オフ)
- 動作電圧範囲: 3.0V~28V
- 25G~40Gおよび-25G~-40Gの標準高感度のBOPおよびBRP
- 出力ピンの内部プルアップ抵抗器
- 物理的ストレスに対する耐性
- 出力過電流制限
- チョッパ安定性設計によって、優れた温度安定性、最小限のスイッチポイントドリフト、ストレスに対して強化された耐性を実現
- 優れたRFノイズ耐性
- 電源での逆阻止ダイオードとZenerクランプ
- 動作温度:-40°C~+125°C
- 8kV高ESD HBM
- 業界標準SC59、SOT23(タイプS)、SIP-3(弾薬パック)、SIP-3(バルクパック)パッケージ
- 完全無鉛でRoHSに完全準拠
- ハロゲンとアンチモンフリー「グリーン」デバイス
アプリケーション
- ブラシレスDCモーター通信
- 毎分回転数(RPM)測定
- 流量計
- 角度エンコーダとリニアエンコーダ、および位置センサ
- 家庭用電化製品、オフィス機器、産業用アプリケーションでの非接触通信、速度測定、角度位置検出/割り付け
代表的なアプリケーション回路
ブロック図
公開: 2024-02-21
| 更新済み: 2024-03-07
