Diodes Incorporated AH396xQ車載用デュアルホール効果ラッチ
Diodes Incorporated AH396xQ車載用デュアルホール効果ラッチは、正確な速度と方向センシングを用いて設計された高電圧センサです。これらのデュアルホールラッチは、チョッパ安定化アーキテクチャと内部バンドギャップレギュレータが搭載されている内部回路を対象とした温度補償供給を実現しています。AH396xQラッチは、2.7V ~ 27Vの供給電圧範囲および-40 ° C ~ 125 ° Cの温度範囲で動作します。これらのラッチには、バッテリ極性逆接続保護、過渡スパイク電圧保護、 UVLO保護が備わっています。AH3965/AH3966/AH3967ラッチは速度および 方向出力を実現しています。他方、AH3968は、2つの独立した出力を実現しています。これらの車載用ラッチは、リード、ハロゲン、アンチモンフリー、完全RoHS準拠しており、AEC-Q100/101/104/200の認定を受けています。一般的なアプリケーションには、 産業用モーター、白物家電、 ポンプ、回転速度と方向の検出、線形速度と方向の検出、角度位置の検出などがあります。
特徴
- 速度および 方向出力(AH3965/AH3966/AH3967) およびデュアル出力(AH3968)
- 2.7V〜27Vの広い電源電圧範囲
- チョッパー安定性設計によって実現すること:
- 優れた温度安定性
- 最小限のスイッチポイントドリフト
- ストレスに対して強化された耐性
- バッテリ極性逆方向接続保護
- 過渡スパイク電圧保護
- UVLO保護
- HBM = 5kV、CDM = 2kV高ESD定格
- 動作温度範囲:-40°C~125°C
- 無鉛、ハロゲン、アンチモンフリー
- RoHS準拠
アプリケーション
- 工業用モータ
- 白物家電
- ポンプ
- 回転速度と方向検出
- 線形速度と方向検出
- 角度位置検出
アプリケーション回路図
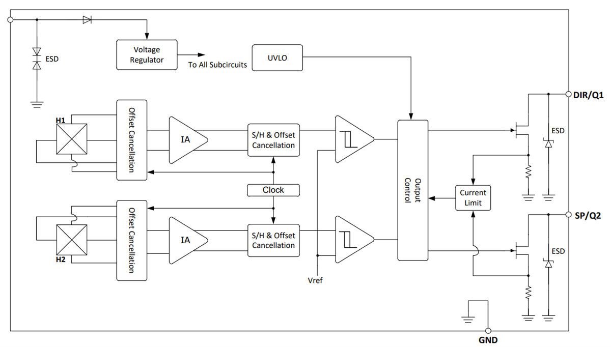
機能ブロック図
公開: 2023-08-09
| 更新済み: 2023-08-21
