Diodes Incorporated AP33771C USB Type-C® PD 3.1シンクコントローラ
Diodes Incorporated AP33771CUSB Type-C® PD3.1シンク・コントローラは、最大28Vの拡張電源範囲(EPR)/調整可能電圧供給(AVS)および最大21Vの標準電源範囲(SPR)/プログラマブル電源(PPS)をサポートする高集積デバイスです。デバイスは、外部抵抗から設定できるType-Cコネクタ搭載デバイス (TCD) のDC電源要求/制御に対応しています。システムMCUを使用しないシンプルなTCDを目的に、AP33771Cは、パワーオンリセット(POR)後にVSELピン(電圧)およびISELピン(電流)の整合抵抗値を解釈することで所望の電力要求を開始します。Diodes Inc AP33771Cシンクコントローラは、高電圧プロセスに基づいており、CC1/CC2ピンと隣接する高電圧ピンの間で34Vの短絡保護に対応します。スマートな内蔵ファームウェアは、DPとDN間の過電圧保護 (OVP)、低電圧保護 (UVP)、過電流保護 (OCP)、湿気検出といった包括的で安全な保護スキームを提供します。LEDインジケータは、PD電力ネゴシエーションのステータス表示に使用されます。実際の使用状況をカバーするために、自動ケーブル電圧降下補償機能を実装しています。その一方でAP33771Cは、Type-Cアタッチメントの挿入方向を表示できます。
特徴
- USB PD 3.1 v1.6認証済みTID: 9960
- VCC 動作電圧範囲:3V~31V
- PD 3.1 EPR/AVS(最大28V)およびSPR/PPS(最大21V)をサポート
- 抵抗器を設定による電圧/電流セクション
- Type-CアタッチメントのFLIP 表示をサポート
- ハードリセットと自動再起動によるOVPをサポート
- 出力電力シャットダウンによるUVPおよびOCPをサポート
- 出力イネーブルnMOSスイッチ用ドライバ
- デッドバッテリ機能をサポート
- 自動ケーブル電圧降下補償
- 最大34VのCC1/CC2ピンでのバス短絡保護
- DPとDN間の湿気検出
- さまざまなネゴシエーション結果をLED表示
- 使用が簡単
- 完全鉛フリー、RoHS完全準拠
- ハロゲンとアンチモンフリー「グリーン」デバイス
アプリケーション
- USB Type-Cコネクタ搭載バッテリ駆動デバイス
- USB Type-Cコネクタを備えたDC電源入力デバイス
- USB PD 3.1テスター
標準的なシステム構成
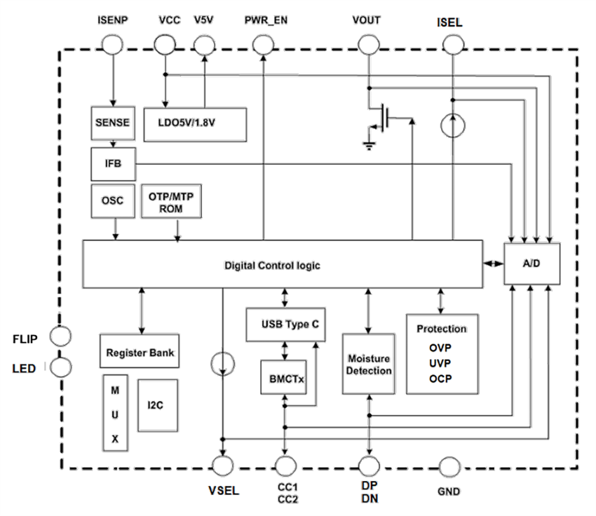
機能ブロック図
公開: 2024-09-30
| 更新済み: 2024-11-01
