Diodes Incorporated AP53782 I2Cインターフェイス付きUSB PD DRPコントローラ
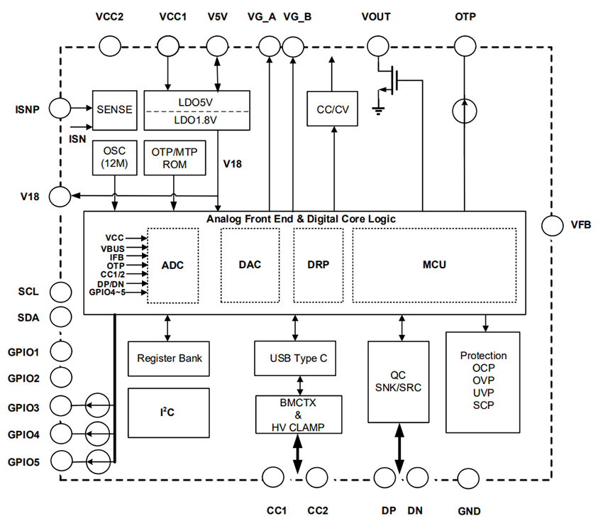
ダイオーズ (Diodes Incorporated) の AP53782 USB Power Delivery(PD)デュアルロール電源(DRP)コントローラは、柔軟なシステム制御を可能にする I2C インターフェイスを備えた、高度に統合された USB Type‑C® PD3.1 DRP コントローラである。Diodes Inc. AP53782は、最大28Vの拡張電力域 (EPR)/ 調整可能な電圧供給 (AVS)、最大21Vの標準電力域 (SPR)/ プログラム可能電源 (PPS)に対応しており、動的電圧や電流ネゴシエーションを要するアプリケーションに適しています。I²C(SCL、SDA)および割り込みピンを介して外部 MCU と連携して動作するよう設計されており、AP53782 は電源ロールを精密に制御できます。I²C コマンドを介して、ホスト MCU は本デバイスをシンクとして構成し、PD3.1 準拠ソースから特定の要求データオブジェクト(RDO)を要求することも、あるいはソースとして構成して、Type‑C コネクタ搭載機器へパワーデータオブジェクト(PDO)を提供することもできます。
AP53782は、QC2.0/ 3.0プロトコル、デッドバッテリーモードをサポートし、電源ネゴシエーション中に外部DC/ DCコントローラに VFB フィードバックを提供します。このコントローラは、Rd/ Rdターミネーション抵抗器とDRP制御スイッチを統合し、低圧側電流センストポロジーで3.6V~28Vで動作します。パワーダウン消費は最小50µAで、バッテリ駆動デバイスのニーズを満たしています。
AP53782は、高電圧プロセスで構築され、最大34VのCCピンや最大24VのDP/ DN対応ピンの短絡保護といった高度保護機能が搭載されています。スマートファームウェアは、USBコネクタの過電圧 (OVP)、低電圧 (UVP)、過電流 (OCP)、湿気検出を含む、包括的な安全メカニズムを提供します。その他の機能には、VBUS nMOSスイッチ用デュアルゲートドライバ、VBUS/ VOUT放電経路、障害状態後の自動再開が含まれます。
USB PD3.1 v1.8 (TID:11689) に認証されたAP53782は、完全にRoHSに準拠し、ハロゲンフリーで、最新のUSB Type-C 電力供給アプリケーションの信頼でき、環境に優しいソリューションとなっています。
特徴
- TID認証済みUSB PD3.1 v1.8(11689)
- 自律DRP制御をサポート
- 100mV/ ステップで最大EPR/ AVS28Vをサポート
- 20mV/ ステップ、50mA/ ステップで最大SPR 21Vをサポート
- 最小パワーダウン消費:50µA
- システムの監視と制御を実現するステータスレジスタをサポート
- PDOとRDOを選択するためにI2 Cコマンドをサポート
- 外部 MCU による監視および制御のための I²C コマンドをサポートします。
- QC2.0/ 3.0シンク/ ソースコントロールをサポート
- VBUS nMOS スイッチのデュアルゲートドライバをサポート
- 外部DC/ DCのDACによるVFBフィードバックをサポート
- 低圧側電流センスによる動作電圧範囲:3.6V ~ 28V
- VBUSおよびVOUT放電経路をサポート
- デッドバッテリモードをサポート
- 自動再起動によるOVP/ UVP/ OCPをサポート
- USBコネクタの水分検出をサポート
- CC1/ CC2ピンの最大VBUS短絡保護:34V、DP/DNピン最大:24V
- 表面実装WQFN-24パッケージ
- 完全無鉛で完全にRoHS準拠
- ハロゲン・アンチモンフリー、グリーンデバイス
アプリケーション
- パワーバンク
- 動力工具
- ワイヤレススピーカ
- 電動バイク
- POS 端子
- ポータブルディスプレイ
仕様
- 3.6V~28Vの幅広い電源電圧範囲
- 動作電源電流:2.5mA
- 動作電源電圧:3V
- 熱センサ
- 接合部対周囲抵抗:29.6°C/W
- 接合部対ケース(上部)抵抗:20.6°C/W
- 接合部対ボード抵抗:11.2°C/W
- 接合部対トップ特性評価パラメータ:0.4°C/W
- 接合部対トップ特性評価パラメータ:11.4°C/W
- 接合部対ケース(下部)抵抗:6.0°C/W
- ESD定格
- 最大2kV人体モデル(HBM)
- 最大帯電デバイスモデル (CDM):750V
- 動作周囲温度範囲: -40°C~+85°C
- 接合部動作温度範囲: -40°C ~ +125°C
- +300°C、10 秒間の最大ハンダ付けリード温度
開発ツール
標準アプリケーション回路
機能ブロック図
