この直列は、固定出力電圧と調整可能出力電圧の両方が備わっています。また、これらのコンバータは独自のゲートドライバ方式を使用して、MOSFET のターンオン時間とターンオフ時間を犠牲にすることなくスイッチング ノードのリンギングを軽減し、MOSFETスイッチングによって発生する高周波放射EMIノイズを低減します。
AP61406Qは、I2C互換、双方向シリアルデータラインに組み込まれた2線式シリアルインターフェイス、SDA、SCL(シリアルクロックライン)が特長です。デバイスは、最大3.4MHzの SCL クロック レートをサポートします。
AP61406Qは、小型フォームファクタ向けに最適化された設計が施されています。本デバイスは、W-QFN1520-8/SWP(タイプUX)パッケージでご利用いただけます。
AP61406Q は、特定の変更管理を必要とする車載アプリケーションに適しており、AEC‑Q100 に準拠し、PPAP に対応し、IATF 16949 認証施設で製造されている。
特徴
- AEC-Q100で品質評価済み、結果は以下のとおり
- デバイス温度グレード1:-40°C~+125°C TA
- デバイスHBM ESD分類Level H1C
- デバイスCDM ESD分類レベルC3B
- 機能安全対応 ― 機能安全システム設計を支援するドキュメントを提供
- 20µA の超低静止電流(パルス周波数変調)
- 最大3.4MHzまでのSCLクロックレートに対応するI2Cインターフェイス
- プログラム可能なモード - PFM/PWM
- プログラム可能な周波数 - 1MHz、1.5MHz、2MHz、2.5MHz
- プログラム可能なIOUT – 1A/2A/3A/4A
- 20mV刻みのVOUT調整
- ウェッタブルフランジ
- VIN 2.3V~5.5V
- 0,300V~3,600Vのワイド出力電圧範囲
- 0.5V ±2% の基準電圧(デフォルト設定)
- 正常電源インジケータ
- 保護回路
- 低電圧ロックアウト(UVLO)機能
- VINの過電圧保護 (OVP)
- ピークおよびバレー電流制限
- 熱シャットダウン
- 完全鉛フリーで、RoHS に完全準拠
- ハロゲンとアンチモンフリー「グリーン」デバイス
- AEC‑Q100 に準拠し、PPAP に対応し、IATF 16949 認証施設で製造(AP61406Q)
アプリケーション
- 自動車用電源システム
- 車載用インフォテイメント
- 自動車計器クラスタ
- 自動車テレマティックス
- 先進運転支援システム
仕様
- 降圧タイプ
- HS RDS(ON):75mΩ
- LS RDS(ON):33mΩ
- 5.5V 最大入力電圧
- 最小入力電圧 2.3V
- 20µA の静止電流タイプ
- 0.02µA のシャットダウン電流タイプ
- 出力電流: 4A
標準アプリケーション図
効率 vs. 出力電流
ピン割当
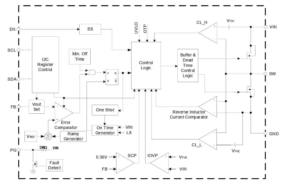
機能ブロック図
公開: 2026-01-26
| 更新済み: 2026-02-12

