Diodes Inc. APR34910は、内部PLR(パルスリニアレギュレータ)によって低システム出力電圧での充電に対応し、3.3V~24Vまでの広い出力動作電圧を実現します。APR34910は、SO-8(Type CJ2)パッケージでご用意があります。
特徴
- CCM/DCM/QR動作モードでのフライバック同期整流をサポート
- オン/オフ切り替えの遅延を最小限に抑えるインテリジェント制御
- シュートスルーを防止するスマートちらつき制御
- 高圧側と低圧側の両方のアプリケーションをサポート
- 低システム出力電圧を実現する内蔵PLR電源
- 内部UVLO保護
- 少ない外付け部品数
- リードフリー、RoHS準拠
- ハロゲンおよびアンチモンフリー「グリーン」デバイス
アプリケーション
- スマートフォン用のクイックチャージャー
- ノートPC用のアダプタ
- セットトップボックス(STB)電源
- その他のコンパクトなスイッチングAC/DCアダプタと充電器
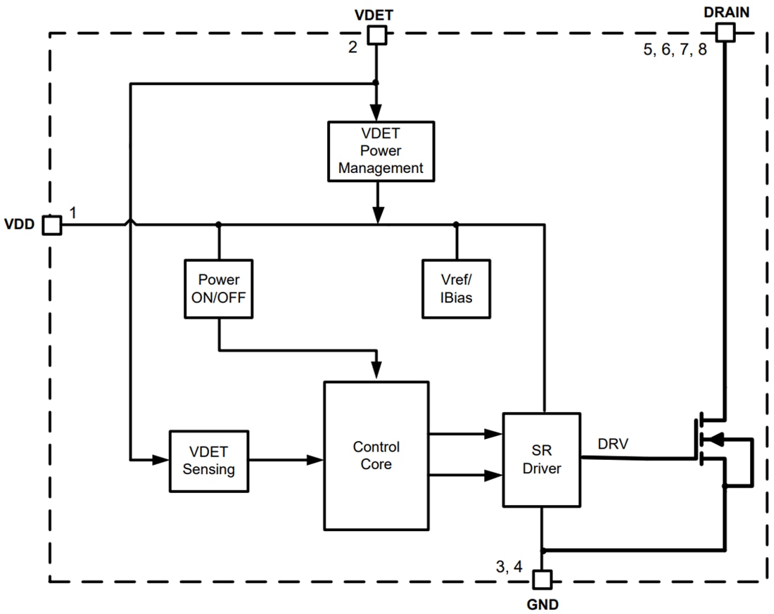
機能ブロック図
公開: 2022-02-16
| 更新済み: 2022-04-29

