Diodes Incorporated PI3EQX2024 USB 3.2リドライバ
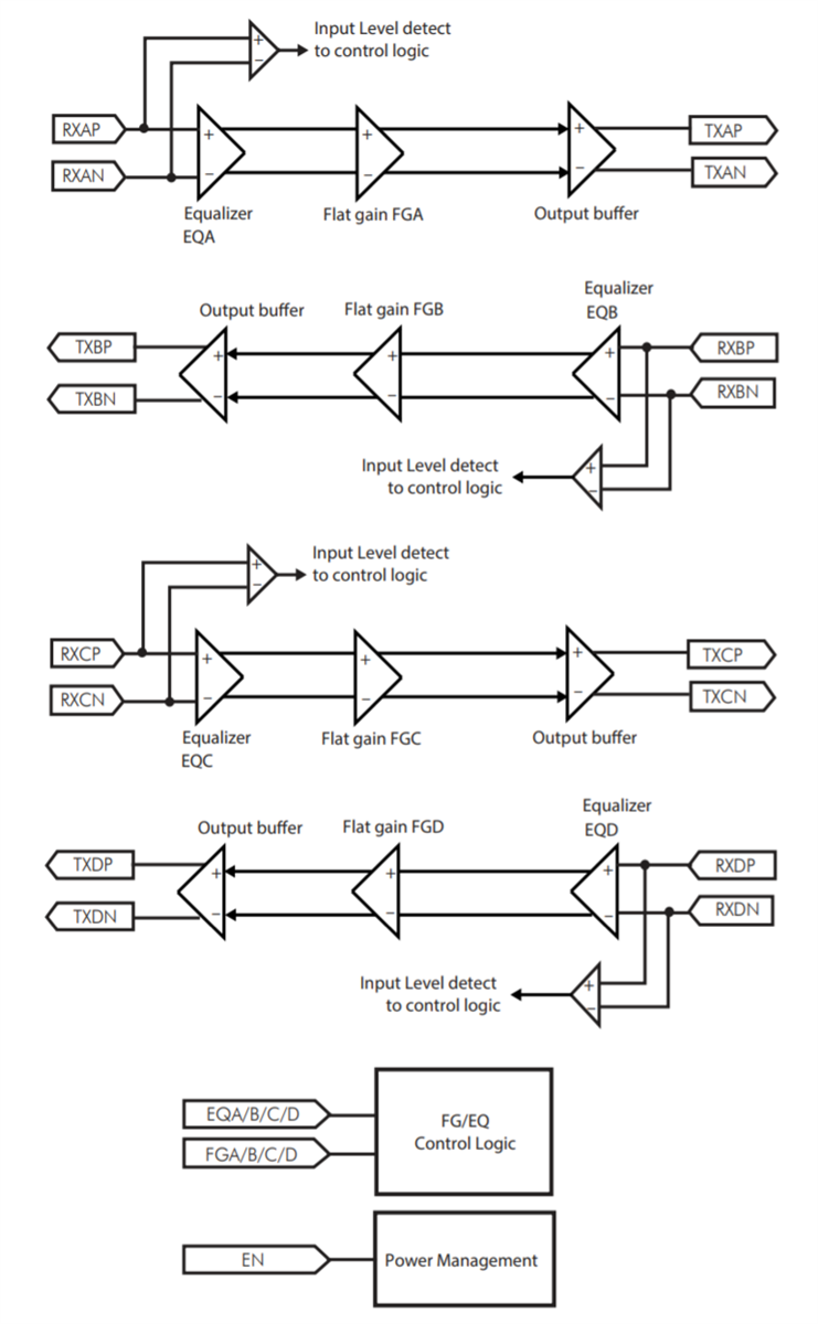
Diodes Incorporated PI3EQX2024 USB 3.2リドライバは、低消費電力・高性能のGen 2x2リニアリドライバ™で、USB 3.2プロトコル用に特別に設計されています。このデバイスは、シンボル間干渉を減らすことで、さまざまな物理的媒体の性能を最適化するプログラマブル・イコライゼーションとフラットゲインを提供します。PI3EQX2024リドライバは、5Gbpsおよび10Gbpsシリアルリンクが特徴で、リニアイコライザが搭載されており、2つの100Ω差動CMLデータI/Oをサポートしています。これらのI/Oは、ケーブルを介して、またはユーザーのプラットフォーム上の他のデータパスを介して信号を拡張することで、プロトコルASICをスイッチファブリックに接続します。PI3EQX2024には、自動レシーバ検出機能も搭載されて おり、34ピンUQFN 2.5mm x 4.5mm(ZTF34)パッケージに収められています。理想的には、このデバイスはラップトップ、コンピュータ、スマートフォン、ストレージアプリケーションで使用されています。特徴
- USB 3.2Gen2およびGen1互換
- USB 3.2 Gen 2x2互換
- 5Gbps、10Gbpsシリアルリンク(リニアイコライザ搭載)
- ピン調整可能なレシーバイコライゼーション
- ピンで調整できる平坦利得
- 単供給電圧は3.3V
- 100Ω差動CML I/O
- 4つの10Gbps差動信号ペア
- 適応型電力管理の自動「眠り」モード
- 自動レシーバ検出
- 特許取得済みの技術
- 完全にリードフリー、RoHSに完全準拠
- ハロゲンとアンチモンフリー
- 無鉛で「グリーン」なデバイス
- 34ピン、UQFN 2.5mm x 4.5mm(ZTF34)パッケージ
アプリケーションの概要
ブロック図
公開: 2022-03-10
| 更新済み: 2022-05-30
