Diodes Incorporated PI3HDX1212 12Gbps HDMI™ 2.1 1:2 信号複製器
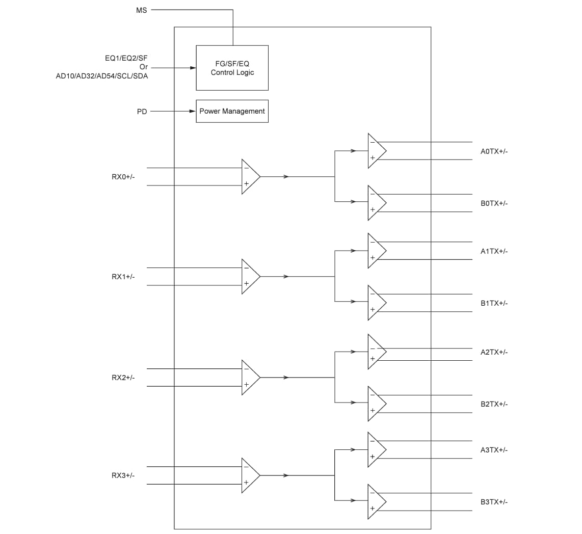
Diodes Incorporated PI3HDX1212 12Gbps HDMI™ 2.1 1:2 信号複製器は、HDMI 2.1規格の標準的な信号処理に基づいた高品位(高解像度)なビデオネットワーク向けに設計されています。PI3HDX1212は、複数のビデオディスプレイ装置に対して差動信号を駆動します。モード選択ピンに応じて、この機器は制御可能なイコライザ、フラットゲイン、ピンまたはI2C制御によって操作可能な出力スイングリニアリティを提供します。12Gbpsの最大HDMIデータレートにより、8K HDTV、PCグラフィックス製品、その他の周辺機器に必要な解像度60Hzで8Kまたは120Hzで4Kを提供します。PCグラフィックアプリケーションの場合、PI3HDX1212はドライバ側に配置されており、PC LCDモニタ、プロジェクタ、テレビなど複数のディスプレイ装置に差動信号を送信します。CTLEイコライザは、リドライバの入力に実装されており、ISIジッタを低減してチャネル損失を補償できます。Diodes PI3HDX1212は、ビデオの送信元から最終ディスプレイ装置まで高帯域幅のビデオストリームの送信を保証します。
特徴
- 1-to-2アクティブ信号複製器、4-lane HDMI2.1動作用
- データレート最大12Gbps、8K4Kピクセル解像度をそれぞれサポート
- ピンストラップまたはI2Cモードのプログラミングで制御可能な、クワッドレベルイコライザのゲイン値
- ピンストラップまたはI2Cモードのプログラミングで制御可能な、クワッドレベルのフラットゲインおよび出力スイング直線性
- I/Oピンでの2KV HBM ESD保護
- 3.3V単電源
- -40°C ~ +70°C温度サポート
- 完全鉛フリー、RoHSに完全準拠
- ハロゲンフリーおよびアンチモンフリー「グリーン」デバイス
- 特定の変更制御を必要とする車載アプリケーション向け(例:AEC-Q100/101/104/200認定済、PPAP対応、IATF 16949認定施設で製造)
- パッケージ (鉛フリー、グリーン) 40ピン、TQFN、3mm x 6mm(0.4mmピッチ) (ZLD))
アプリケーション
- ディスプレイ周辺ボックス
- デジタル看板ディスプレイ
- マルチスクリーンスプライス
リソース
アプリケーション図
ブロック図
公開: 2024-09-09
| 更新済み: 2024-11-14
