特徴
- 1-to-2アクティブ信号デュプレクサ(4レーン HDMI 2.0動作用)
- データレートは最大6Gbpsに対応しており、4K2Kピクセル解像度に対応
- クワッドレベルイコライザのゲイン値選択は、ピンストラッピングまたはI2Cモードプログラミングのいずれかで制御
- クワッドレベルのフラットゲインおよび出力スイングの直線性の選択は、ピンストラッピングまたはI2Cモードプログラミングによって制御
- I/Oピンでの2KV HBM ESD保護
- 3.3Vの単電源
- -40°C ~ +70°C温度サポート
- 完全無鉛でRoHSに完全準拠
- ハロゲンフリーおよびアンチモンフリー「グリーン」デバイス
- 40ピンTQFN(薄型クワッドフラットノーリード)、3mm x 6mm(0.4mmピッチ)、ゼロリード(ZLD)パッケージング(鉛フリーおよびグリーン)
アプリケーション
- ディスプレイ周辺ボックス
- デジタル看板ディスプレイ
- マルチスクリーンスプライス
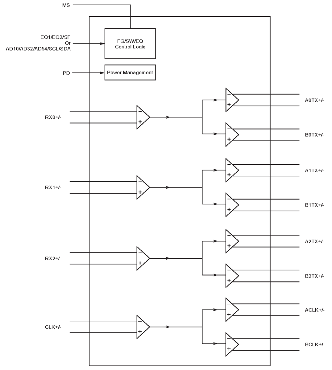
ブロック図
公開: 2023-10-02
| 更新済み: 2023-12-07

