Epson ICs S1C31W74 32-Bit Microcontroller
Epson S1C31W74 32-bit Microcontroller with an ARM® Cortex®-M0+ processor features low-power operation. This MCU incorporates an LCD driver capable of driving up to a 2,304 dot LCD panel and large-capacity flash memory. The S1C31W74 MCU saves board space and reduces the bill of materials. This S1C31W74 MCU is a single chip housed in a 1mm thick VFBGA8HX-181 package. The S1C31W74 is suitable for various kinds of battery-driven controller applications.Features
- ARM 32-bit RISC CPU core Cortex-M0+
- Embedded 72SEG × 32COM LCD driver
- Embedded 512KB flash memory and 128Kbyte RAM
- Various interfaces such as UART, QSPI, I2C, and USB that support
- DMA transfer
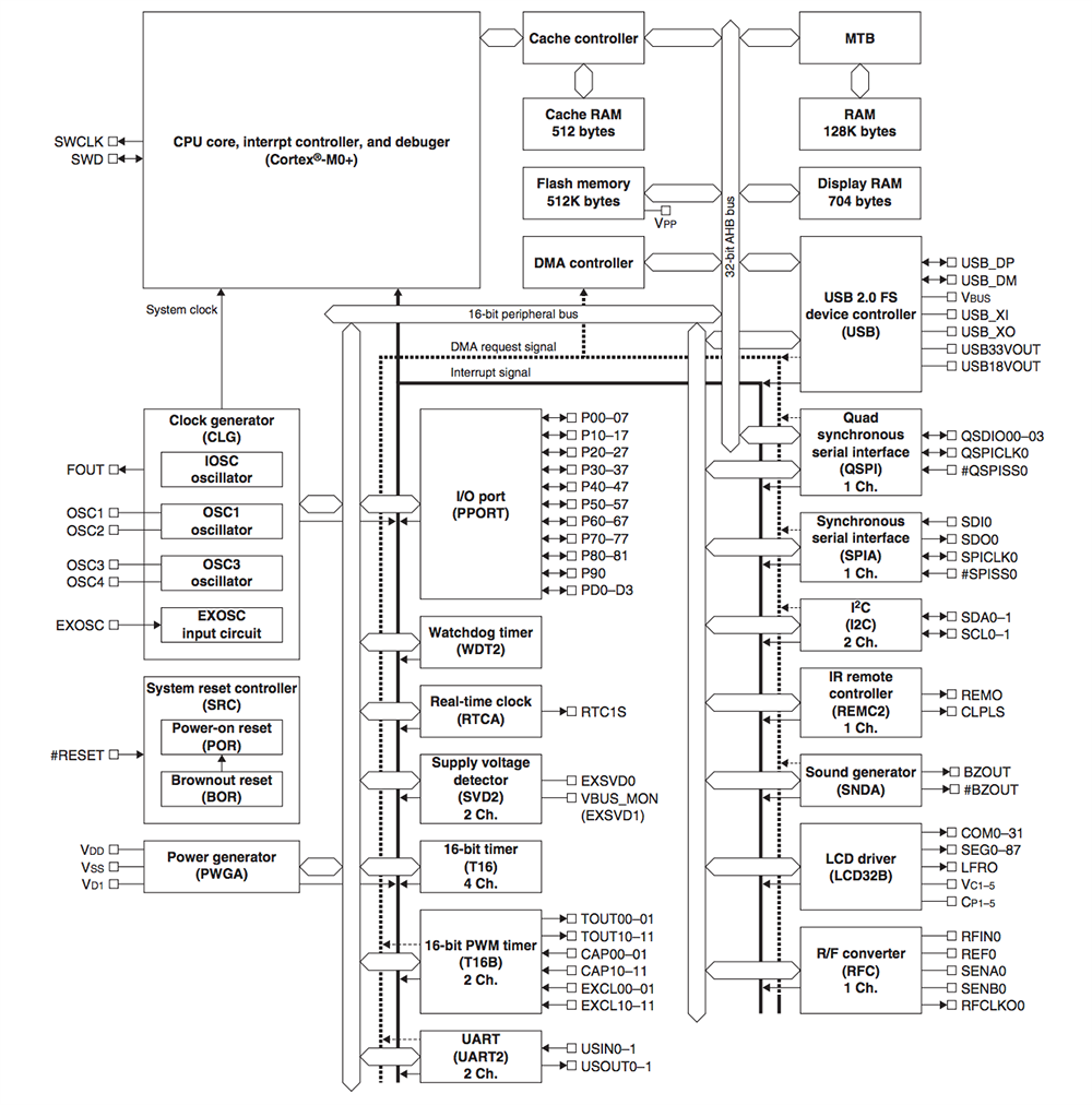
Block Diagram
公開: 2017-07-20
| 更新済み: 2022-03-11
