FTDI Chip FT232RN USB UART ICは、一部のアプリケーション領域を対象とした「3-in-1」チップで、先行製品と比較して2つの新しい機能が追加されています。内部生成されたクロック(6MHz、12MHz、24MHz、48MHz)は、FT232RNから分離し、マイクロコントローラまたは外部ロジックの駆動に使用できます。
FT232RNは、無鉛(RoHS準拠)コンパクトな28ピンSSOP(FT232RNL)および32ピンQFN(FT232RNQ)パッケージに格納されています。
特徴
- シングルチップUSBから非同期シリアル・データ転送インターフェイス
- USBプロトコル全体は、チップで処理され、USB固有のファームウェア・プログラミングが不要
- 完全に統合された1024ビットEEPROM保管デバイスのディスクリプタとCBUS I/O構成
- 完全に統合されたUSB終端レジスタ
- 外部クリスタルを必要としない完全に統合されたクロック生成に加えて、外部MCUまたはFPGAへのグルーレス・インターフェイスが実現するオプションのクロック出力選択
- TTLレベルで300baud 3 Mbaud(RS422、RS485、RS232)のデータ転送レート
- 高データスループットが可能になるバッファ平滑化技術が活用されている128バイトの受信バッファ、および256バイトの送信バッファ
- FTDIのロイヤリティフリーのVirtual Com Port (VCP) および Direct (D2XX)ドライバを使用すると、ほとんどの場合でUSBドライバ開発の要件を排除
- 独自のUSB FTDIChip-ID™機能
- 構成可能なCBUS I/Oピン
- LED駆動信号の送受信
- 7または8データビット、1または2ストップビット、奇数/偶数/マーク/スペース/パリティなしをサポートするUARTインターフェイスです。
- RD#およびWR#ストローブが備わった同期および非同期ビットバング・インターフェイス・オプション
- FIFO高データスループットのためのバッファの受信と送信
- 固有のUSBシリアル番号で事前にプログラミングされたデバイス供給
- バス駆動、自己給電、高電力バス駆動USB構成をサポート
- 統合+3.3Vレベル・コンバータ(USB I/O用)
- +1.8Vおよび+5Vロジック間でのインターフェイス接続を目的としたUARTおよびCBUSでの統合レベル・コンバータ
- 真の5V/3.3V/2.8V/1.8V CMOSドライブ出力とTTL入力
- 構成可能なI/Oピン出力ドライブ強度
- 統合パワーオンリセット回路
- 完全に統合されたAVCC供給フィルタリング - 外部フィルタリング不要
- UART信号反転オプション
- +3.3V~+5.25Vの単電源動作
- 低動作およびUSB中断電流
- 低USB帯域消費量
- UHCI/OHCI/EHCIホストコントローラとの互換性あり
- USB 2.0フルスピード互換
- 拡張動作温度範囲: -40°C~85°C
- コンパクトな無鉛28ピンSSOPおよびQFN-32パッケージ(どちらもRoHSに準拠)でご用意あり
アプリケーション
- USB to RS232/RS422/RS485コンバータ
- 従来の周辺機器をUSBにアップグレード
- 携帯電話とコードレス電話のUSBデータ転送ケーブルとインターフェイス
- MCU/PLD/FPGAベースの設計のUSBへのインターフェイス接続
- USBオーディオおよび低帯域幅ビデオデータ転送
- PDAをUSBデータ転送
- USBスマートカードリーダー
- USB計測
- USB産業用制御
- USB MP3プレーヤー・インターフェイス
- USBフラッシュカードリーダーとライター
- セットトップ・ボックスPC-USBインターフェイス
- USBデジタルカメラインターフェイス
- USBハードウェア・モデム
- USBワイヤレス・モデム
- USBバーコード・リーダー
- USBソフトウェアとハードウェア暗号化ドングル
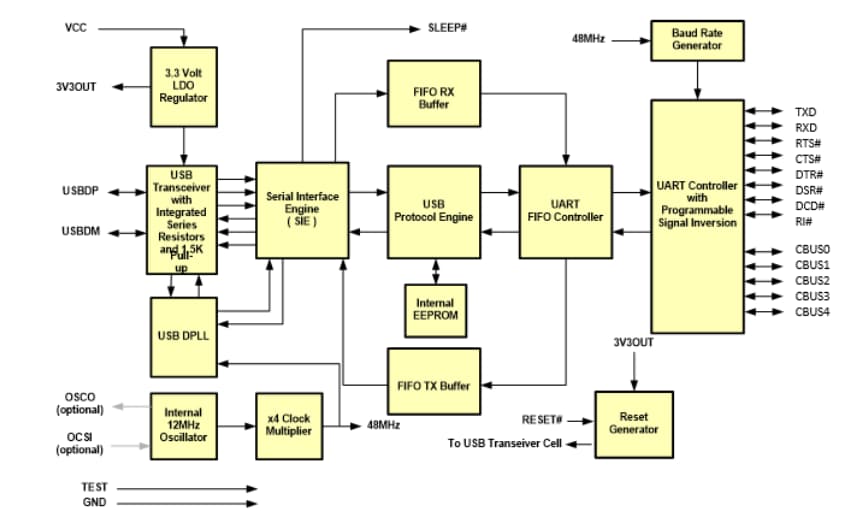
ブロック図
公開: 2022-10-10
| 更新済み: 2022-10-20

