Infineon Technologies S70KL1282 & S70KL1283インターフェイスHyperRAM
Infineon Technologies S70KL1282とS70KL1283インターフェイスHyperRAMは、HYPERBUS™インターフェイスが搭載された高速CMOS、セルフリフレッシュDRAMです。DRAMアレイには、定期的な更新に不可欠の動的セルを使用しています。デバイス内のリフレッシュ制御ロジックは、HYPERBUSインターフェイス・マスタ(ホスト)によってメモリがアクティブに読取または書込されていない場合に、DRAMアレイでのリフレッシュ動作を管理します。リフレッシュ動作の制御にホストが必要ないため、DRAMアレイは、メモリがリフレッシュなしでデータを保持する静的セルを使用しているかのようにホストに表示されます。このメモリは、もっと正確には疑似静的RAM(PSRAM)と言われています。特徴
- インターフェイス
- HYPERBUSインターフェイス
- 1.8V / 3.0Vインターフェイスサポート
- シングルエンド・クロック(CK)- バス信号11個
- オプションの差動クロック(CK、CK#)- バス信号12個
- チップセレクト(CS#)
- 8ビット対応データバス(DQ[7:0])
- ハードウェアリセット(RESET#)
- 双方向の読取/書込データストロボ(RWDS):
- すべてのトランザクションの開始時に出力し、更新の待ち時間を示す
- 読取データストローブとして読取トランザクション時に出力
- 書込データマスクとして書込トランザクション時に入力
- オプションのDDR中央揃え読取ストローブ(DCARS)
- RWDSは、トランザクションの読み取り中に、CKから位相シフトされた2番目のクロックによってオフセットされる
- 位相シフトクロックは読取データアイ内部のRWDS過渡エッジの移動に使用
- 性能、電力、パッケージ
-
- 200MHz最速クロックレート
- DDR - クロックの両エッジでデータを転送
- 最大400MBps(3,200Mbps)までのデータスループット
- 構成可能なバースト特性
- 線形バースト
- ラップバースト長:
- 16バイト(8クロック)
- 32バイト(16クロック)
- 64バイト(32クロック)
- 128バイト(64クロック)
- ハイブリッドオプション - 1つのラップバーストおよびそれに続く64 Mbの線形バースト ダイ境界に沿った線形バーストはサポートされていません。
- 設定可能な出力ドライブ強度
- 電力モード
- Hybridスリープモード
- ディープパワーダウン
- アレイ更新
- 部分的なメモリアレイ(1/8、1/4、1/2、その他)
- フル
- パッケージ
- 24ボールFBGA
-
- 工業用 (I) –40°C~+85°C
- 工業プラス (V) –40°C~+105°C
- 車載、AEC-Q100 Grade 3: -40°C~+85°C動作温度範囲
- 車載、AEC-Q100 Grade 2 –40°C~+105°C
- 構成可能なバースト特性
-
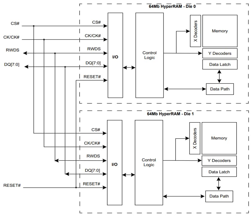
ブロック図
公開: 2021-05-11
| 更新済み: 2023-09-04
