Infineon Technologies ICL8830 シングル段PFCフライバックコントローラ
Infineon Technologies ICL8830 シングル段 力率改善(PFC)フライバックコントローラは、費用対効果とエネルギー効率に優れた電源ソリューション向けに設計された高性能デバイスです。高周波数スイッチング動作用にカスタマイズされたこのコントローラは、GaNおよびSi MOSFETスイッチングデバイスを駆動することができます。Infineon ICL8830は、PFCおよび擬似共振フライバック制御を単一のICに統合しています。このコントローラは、広い入力電圧範囲(90VAC 〜300VAC)、調整可能な最大オンタイム、および過電圧、過電流、ブラウンイン/アウト、過熱保護を含む包括的な保護スイートを特徴としています。さらに、ICL8830は、超低スタンバイ電力用のバーストモード動作と、EMI規制基準を満たし易くするジッタ機能を備えており、最新のコンパクトで効率的な電源設計に最適なデバイスとなっています。特徴
- SSR-CV出力フライバックトポロジ
- 高周波数動作用に最適化されており、GaNデバイスでの動作に最適
- 広いAC入力電圧および出力負荷範囲にわたって高力率と低THDを実現
- ユニバーサルAC入力電圧(90VAC ~300VAC 、45Hz~66Hz)およびDC入力電圧動作に対応
- バレースイッチングと連続伝導モード(CCM)防止によるQRM動作
- 非常に軽い負荷と低いシステム待機電力消費のためのバーストモード
- 希望する最大動作スイッチング周波数に対して、谷間変化位置でのオンタイムマッピングの調整が可能
- 最大オンタイムの調整が可能(入力電力と電流を制限し、低ライン条件下での安全動作を可能にするため)
- 電源ON時のコンポーネント応力を軽減するソフト起動
- 外部スタートアップ回路制御信号
- 起動シーケンス時のゲートドライバ電圧を低減し、VCC の静電容量を小さくして高速起動を実現
- バーストモードで十分なVVCC を維持するためのVCC ウェイクアップバースト動作
- バーストモード時のゲートドライバ電圧を低減し、ゲート電荷損失を抑えてスタンバイ電力を削減
- 包括的な保護機能
- 内部過熱保護(OTP)
- フライバック出力過電圧保護(OVP)
- 一次側過電流保護(OCP)
- ブラウンイン保護
- ブラウンアウト保護
- VCC 過電圧保護
- オープンループ保護
- 入力過電圧保護
アプリケーション
- 高周波PFCフライバックSSR-CV
- SMPS
- LEDドライバ、スマート照明、非常用照明
- アダプタ、充電器、家電製品、シーリングファン
仕様
- VCC 電圧範囲:-0.5V〜26V(最大値)
- 最大電力損失:0.5W(+50°C時)
- 最大動作電源電圧:23V
- 電源
- VCC ターンオン閾値範囲:12.0V〜13.1V(最大値)
- 起動電流:30μA(標準値)
- 電源電流:2.0mA(標準値)
- バースト一時停止時の電源電流:220μA(標準値)
- 保護モード時の電源電流:40μA(標準値)
- ゼロクロス検出
- 立ち下がりエッジ:45mV(標準値)
- 立ち上がりエッジ:55mV(標準値)、90mV(最大値)
- 正電圧のクランプ範囲:400mV〜700mV
- 負電圧のクランプ範囲:-600mV〜-400V
- 電圧センス
- バイアス電流範囲:0.5µA〜1.5µA
- オプトカプラ/フィードバック電源用の電圧源:1.56V〜1.63V
- 起動用電流閾値範囲:102µA〜154µA
- オープンピンターンオフ範囲:2.64V〜2.76V
- 過電圧ターンオフ後の再起動用電圧範囲:2.54V〜2.66V
- ADC電流制限
- 下限 166µA〜260µA(動作時の最大オンタイム用)
- 上限 500µA〜720µA(バーストモードでの最小オンタイム用)
- 接合部から周囲への熱抵抗:185K/W(最大値)
- 入力電圧検出
- ピンの対地短絡閾値:150mV〜250mV
- 過電圧閾値:1.9V〜2.1V
- TD構成
- 起動前RTD測定用の内部プルアップ抵抗:32kΩ~48kΩ
- RUN状態および起動前RTD 測定用の内部プルアップ抵抗:8kΩ〜12kΩ
- 構成および出力レギュレーション用のVSピン負荷電流検知を起動するためのTD ピンとグランドの間の抵抗:18kΩ〜68kΩ
- 電流センス
- OCP1 ターンオフ閾値範囲:570mV〜650mV
- OCP1 リーディングエッジブランキングタイム:160ns(標準値)
- OCP2 ターンオフ閾値範囲:1140mV〜1260mV
- OCP2 トリガ時間:150ns(標準値)
- CSプルアップ電流:0.5µA〜1.5µA
- PWM生成
- 繰り返し時間範囲:47μs〜60μs
- オフタイム範囲:42µs〜52.5µs
- ドライバゲート
- 最小ソース電流:125mA
- 最小シンク電流:250mA
- ピーク電圧範囲:10.4V〜11.6V
- 低減ピーク電圧範囲:6.5V〜7.5V
- クロック発振器
- 再起動時間:200ms(標準値)
- 高速再起動時間:25ms(標準値)
- 温度センサ
- 相対精度:±6°C
- シャットダウン温度:+130°C(標準値)
- ESD定格
- 人体モデル(HBM):最大2kV(ANSI/ESDA/JEDEC JS-001に準拠)
- デバイス帯電モデル(CDM):最大500V(ANSI/ESDA/JEDEC JS-002に準拠)
- PG-DSO-8パッケージ
- 最大接合部温度範囲:-40°C〜+150°C
- 最大はんだ付け温度:+260°C
アプリケーション回路図
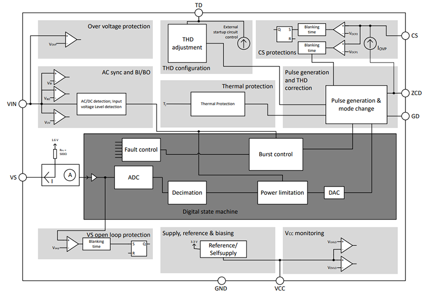
ブロック図
公開: 2025-06-20
| 更新済み: 2025-07-31
