Infineon Technologies KP23xアナログ気圧(BAP)センサ

Infineon KP23xアナログ気圧(BAP)センサは、場所や標高が変わっても同一の性能を発揮します。場所が異なると、周囲の空気の組成と質も変化します。これらの変化のために、エンジンが即座に反応することが基本的に重要です。Infineonは、アナログとデジタルの異なるインターフェイスおよびさまざまな圧力範囲の気圧センサ用に、多種多様な圧力センサを取り揃えています。

特徴

  • 絶対空気圧測定
  • 大きな温度範囲全体で1.0kPaの優れた精度
  • 加えられた圧力に比例したレシオメトリックアナログ電圧出力
  • 出力信号は、圧力および温度範囲全体で完全に補償済
  • 圧力範囲: 40~115kPa
  • 温度範囲: -40~+125°C
  • シリアル・サービス・インタフーフェイス
  • 供給とGNDのためのオープンボンド検出を(OBD)
  • 反転極性保護
  • グリーンSMDパッケージ

アプリケーション

  • 車載アプリケーション(気圧測定)
  • 産業用制御装置
  • 民生用アプリケーション
  • 医療用アプリケーション
  • 気象ステーション
  • 高度計

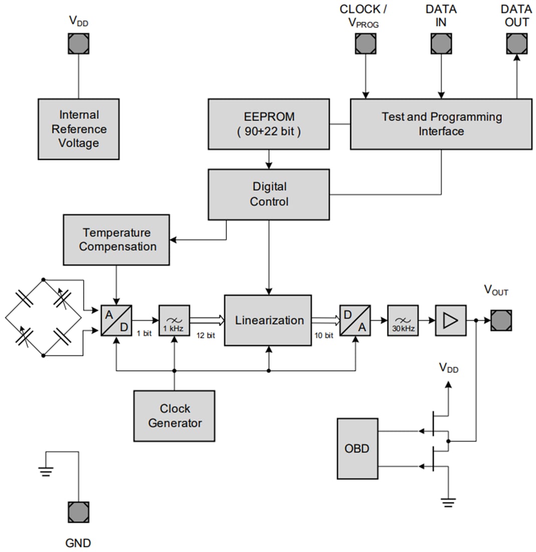
機能ブロック図

ブロック図 - Infineon Technologies KP23xアナログ気圧(BAP)センサ
公開: 2019-04-18 | 更新済み: 2024-06-13