Infineon Technologies LITIX™ 内装 LED ドライバ
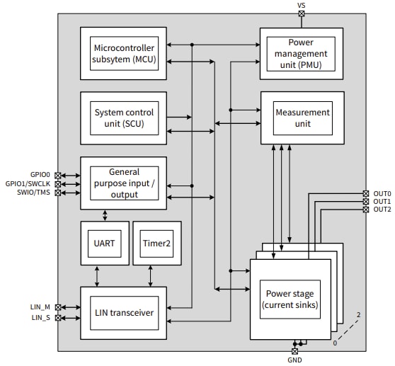
Infineon Technologies LITIX™ 車載周囲照明用の内装LEDドライバは、3チャンネルデバイスで、保護されている統合出力段が備わっています。リニア電流シンク(LC)として最大51.5mAの電流でRGB LEDを制御するように設計されています。電力段は、負荷電流を高めるために並列構成にすることもできます。また個別の電力出力段は、5ビット電流セット値を使用して設定できます。LITIX™ LEDドライバは、プログラミング(ブートローダ経由)、制御、診断フィードバック用にLINインターフェイスを採用しています。32kBオンチップフラッシュメモリ、3kBオンチップSRAM、576Bytes 1000 TPオンチップメモリを搭載しています。特徴
- 3チャンネルドライバ(それぞれ最大51.5mA)
- LIN自動アドレス付きLINインターフェイス
- 32ビット Arm Cortex ® - M23コア
- 32kBオンチップフラッシュと3kBオンチップSRAM
- 576Bytes 1000 TPオンチップメモリ
- 差動測定機能を備えた0V ~ 8V用11ビットADC
- 610Hzの分解能で16ビットのPWMエンジン
- 起動FWフラッシュルーチン用のブートROM
- オンチップ発振器
- 2線式SWDのデバッグ
- 追加GPIO 2個
- 小型リード付パッケージ(TFDSO-16)
- よく知られているMCUのプログラミングが簡単
- 簡単で安定したソフトウェア開発
- 最大限のアプリケーション柔軟性
- 追加のセンスと制御機能
ブロック図
標準アプリケーション回路
公開: 2025-09-23
| 更新済み: 2025-10-13
