Infineon Technologies TLE8082ESコンパニオンIC
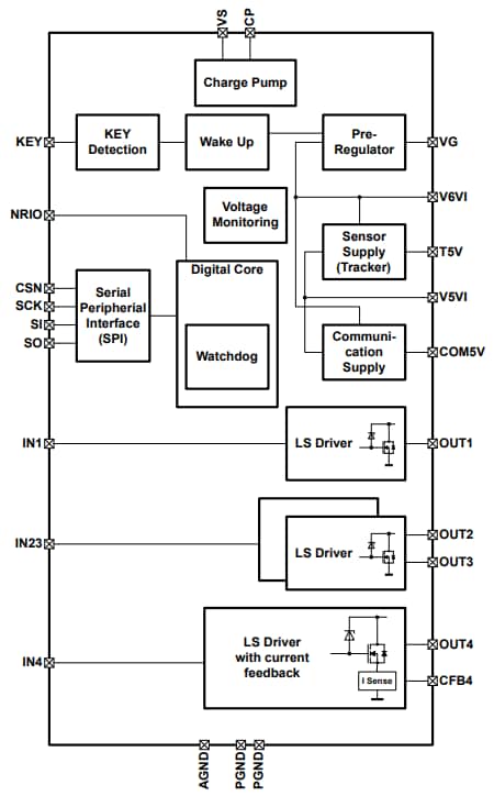
Infineon Technologies TLE8082ESコンパニオンICは、OBDII準拠のEURO5 / BHARATVI 2-/3輪燃焼エンジンシステムをサポートしています。ICは、強化された電子燃料噴射(EFI)技術に焦点を当てたシステムをサポートしています。過温度と過電流から保護されており、各統合電力段の診断機能を実現しています。TLE8082ESには、外部FET用のプリレギュレータ、センサ供給、オンボードトランシーバ用の通信供給、SPIインターフェイス、4つの電力段が統合されており、エンジン管理システムに使用されるさまざまな負荷タイプを駆動できます。特徴
- 電源
- 外部FETを用いた電圧プリレギュレータ
- 5Vセンサ供給(5V供給入力の追跡)
- 5V通信供給(5V供給入力の追跡)
- 永続的な供給機能
- 専用キー入力
- アフターラン機能
- ウィンドウ・ウォッチドッグ・モジュール
- 誘導負荷のための4つのローサイドドライバで、過温度と過電流保護、およびオフ診断でのGNDに対するオープン負荷/ショートが備わっています。
- 3つのローサイド電力段
- 電流測定機能(O2ヒーター)が搭載された1つのローサイド電力段
- シリアルペリフェラルインターフェイス(SPI)
- 環境配慮型製品(RoHS準拠)
アプリケーション
- オートバイ、2輪車、3輪車、スクーター
- クラフト、海兵隊、ジェットスキー
- スノーモービル
ブロック図
公開: 2021-09-09
| 更新済み: 2022-03-11
