特徴
- 高性能、低消費電力AVR® 8ビットマイクロコントローラファミリ
- 高度なRISCアーキテクチャ
- 131のパワフルな命令をシングルクロックサイクルで実行
- 32 x 8 汎用ワーキングレジスタ
- 完全スタティック操作
- 20MHzで最大20MIPSのスループット
- オンチップ2サイクル乗算器
- 高耐久性の不揮発性メモリセグメント
- システム内自己プログラム可能フラッシュ・プログラムメモリ:4/8/16/32キロバイト
- EEPROM:256/512/512/1キロバイト
- 内部SRAM:512/1キロバイト/1キロバイト/2キロバイト
- 書き込み/消去サイクル 10,000 フラッシュ/100,000 EEPROM
- データ保持期間:85°Cで20年、25°Cで100年(1)
- オプションのブートコードセクション:独立したロックビットを持つ
- オンチップブートプログラムによるシステム内プログラミング
- 真のリードホワイルライト動作
- ソフトウェア・セキュリティのためのプログラミング・ロック
- QTouch®ライブラリのサポート
- 静電容量式タッチボタン、スライダー、およびホイール
- QTouch および QMatrix™ アクイジション
- 最大64のセンスチャネル
- 周辺機能
- 2つの8ビット・タイマ/カウンタと個別のプリスケーラとコンペアモード
- 1つの16ビット・タイマ/カウンタと個別のプリスケーラ、コンペアモード、キャプチャモード
- 独立した発振器を備えたリアルタイムカウンタ
- 6つのPWMチャンネル
- TQFPおよびVQFNパッケージに搭載された8チャンネル10ビットADC
- 温度測定
- SPDIPパッケージの6チャネル10ビットADC
- 温度測定
- プログラマブル・シリアルUSART
- マスター/スレーブSPIシリアル・インターフェース
- バイト指向の2線式シリアルインタフェース(フィリップスI2C互換)
- 独立したオンチップ発振器を備えたプログラマブルウォッチドッグタイマ
- アナログ・コンパレータ内蔵
- ピン交換時の割り込みとウェイクアップ
- 特別なマイクロコントローラ機能
- パワーオン・リセットとプログラム可能なブラウンアウト検出
- 内部校正発振器
- 外部および内部割り込みソース
- 6つのスリープ・モード:アイドル、ADCノイズリダクション、パワーセーブ、パワーダウン、スタンバイ、拡張スタンバイ
- I/Oとパッケージ
- 23本のプログラム可能なI/Oライン
- 28ピンSPDIP、32リードTQFP、28パッドVQFN、32パッドVQFN
- 動作電圧
- 1.8 - 5.5V
- 温度範囲
- -40°C to 85°C
- スピードグレード
- 1.8-5.5Vで0-4MHz、2.7-5.5.Vで0-10MHz、4.5-5.5Vで0-20MHz
- 1MHz、1.8V、25°Cでの消費電力
- アクティブモード 0.2mA
- パワーダウンモード 0.1μA
- パワーセーブモード 0.75μA (32kHz RTCを含む)
アプリケーション
- ホーム&ビルディングオートメーション
- 快適性と制御
- 産業オートメーション
- センサ
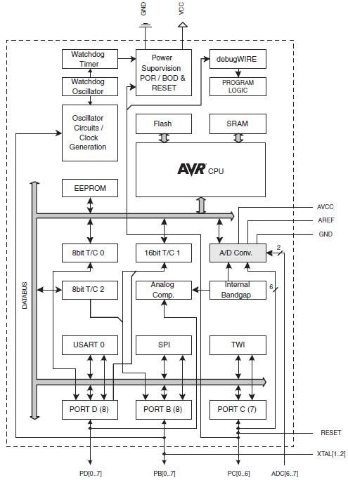
ブロック図
公開: 2011-05-18
| 更新済み: 2024-12-19

