Microchip Technology 24CSM01 1-MbitシリアルEEPROM
Microchip Technology 24CSM01 1-MbitシリアルEEPROMは、最速3.4MHzまでのスピードを実現する能力があり、1.7V〜5.5V電圧範囲で動作します。これらのシリアルEEPROMを使用すると、最大8台のデバイスで共通のI2C(2線式)バスを共有できます。24CSM01 EEPROMは、各8ビットの131,072バイト(128Kバイト)で構成され、民生用および産業用アプリケーションに最適化されています。これらのEEPROMは、4Kbitセキュリティレジスタが特徴で、前半は読み取り専用です。セキュリティレジスタには、工場出荷時にプログラミングされており、保証された固有の128ビットシリアル番号が最初の16バイトに含まれています。24CSM01 EEPROMには、書き込み保護動作および読み取り専用エラー訂正状態ラッチ(ECS)が可能になる構成レジスタが搭載されています。これらのシリアルEEPROMには、内蔵エラー訂正コード(ECC)スキームが活用されており、4バイトの読み出し内で最大1つの誤った読み取りビットを訂正できます。24CSM01 EEPROMは、24CSM01に固有の値を返すI2Cメーカー識別(ID) コマンドをサポートしており、アプリケーション内で簡単に識別できます。これらのシリアルデバイスは、PDIP-8、SOIC-8、SOIJ-8、UDFN-8、TSSOP-8、MSOP-8、WLCSP-8パッケージでご用意があります。
特徴
- 1-Mbit EEPROM:
- 1つの131.072 x 8ビットとして内部構成
- 最大256バイトのバイトまたはページ書き込み
- バイトまたはシーケンシャル読取
- セルフタイム式書き込みサイクル(最大5ms)
- 高速I2Cインターフェイス:
- 3.4MHzの高速モードサポート
- 業界標準:1MHz、400kHz、100kHz
- グラウンドバウンスを排除する出力スロープ制御
- ノイズ抑制のためのシュミットトリガ入力
- セキュリティレジスタ:
- プログラミング済の128ビットシリアル番号
- ユーザープログラマブルおよびロック可能な256バイトIDページ
- 内蔵エラー訂正コード(ECC)ロジック:
- 構成レジスタ経由のエラー訂正状態(ECS)ラッチ
- I2Cメーカー識別機能サポート
- 多目的データ保護オプション
- 完全アレイデータ保護を目的としたハードウェア書き込み保護(WP)ピン
- 構成レジスタ経由の強化されたソフトウェア書き込み保護
- 動作電圧範囲: 1.7V~5.5V
- 低消費電力CMOS技術:
- 書込電流:5.5Vで最大3mA
- 読取電流:5.5V、1MHzで最大1mA
- スタンバイ電流:5.5V(I-temp)で1µA
- 高信頼性:
- 1万回以上の消去/書込サイクル
- 信頼性の向上を目的とした内蔵ECCロジック
- データ保持期間: 200年以上
- ESD保護: 4000V以上
- 温度範囲:
- 工業(I): -40°C〜85°C
- 拡張(E): -40°C〜125°C
- 車載用AEC-Q100認定
- RoHS準拠
シリアルEEPROMを使用したシステム構成
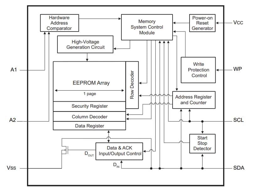
ブロック図
公開: 2024-01-30
| 更新済み: 2024-02-01
