Microchip Technology BM63 Bluetoothオーディオ評価ボード
Microchip Technology BM63評価ボードは、完全認証されたBluetooth® Version 4.2 BM63ステレオオーディオモジュールの設計者による機能と性能の評価に関するプラットフォームを提供しています。 BM63デュアルモードステレオオーディオモジュールによって、設計者はBluetoothワイヤレスオーディオとボイス機能をアプリケーションに追加できます。 BM63評価ボードの統合設計は、プラグアンドプレイ機能と急速なプロトタイピング向けのプログラミングインターフェースが特徴です。 その他の機能には、内蔵3W Class-Dステレオオーディオアンプ、内蔵近距離通信(NFC)、ステレオオーディオ出力、I/Oピン、データと接続ステータスLEDがあります。 ボードには、1つのMICおよび1つのAUXジャック用入力、ヘッドセット出力ジャックが搭載されています。 さらに、CDA出力コネクタも利用可能です。 7個の制御ボタンによって、簡単にオーディオを制御できます。 設計者は、シンプルMCUコネクタ経由でホストコントローラから制御するように、あるいはスタンドアロンモードで動作するようにボードを構成できます。The BM63 Evaluation Board's integrated design features a programming interface for plug-and-play capability and rapid prototyping. Additional features include a built-in 3W Class-D stereo audio amplifier, built-in near field communication (NFC), stereo audio output, and data and connection status LEDs.
Designers can configure the board to be controlled by a host controller via a simple MCU connector or operate stand-alone mode.
特徴
- Based on the fully-certified BLUETOOTH® 4.2 BM63 stereo audio module
- On-board MCU (PIC18F85J10) and DSP audio amplifier for easy operation and feature demonstration
- Powered by a PC host using the micro-USB cable or by connecting a Li-Ion battery
- Built-in 3W Class-D stereo audio amplifier
- Built-in Near Field Communication (NFC)
- Stereo audio output for high-quality audio
- Easy access to I/O pins
- Connection and data status LEDs
キット内容
- One BM-63-EVB, which contains the BM63SPKA1MGA-0001AC
- One micro-USB cable
- Two speaker cables
- One 5V DC power adapter
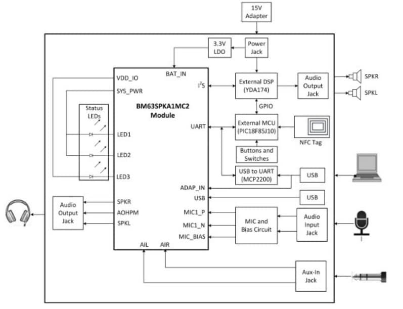
BM63 Evaluation Board Block Diagram
BM63 Evaluation Board Board Layout
On the Board Modules
1. BM63SPKA1MC2 module
2. Three status LEDs
3. NFC tag
4. Mode switch (SW9)
5. USB connector (P9)
6. USB to UART converter (MCP2200)
7. UART port over USB connector (P3)
8. Onboard MCU (PIC18F85J10)
9. ICSP header (J5)
10. Audio control buttons, Multi-Function Button (MFB), and pairing mode button
11. 15V adapter jack (P2)
12. Internal/external MCU selection switch (SW46)
13. Internal/external DSP audio amplifier selection switch (SW47)
14. On-board DSP (YDA174) with built-in audio amplifier
15. Audio connector (CN1 and CN2)
16. External MCU/DSP header (J6)
17. Auxiliary input 3.5mm jack (P8)
18. Microphone input 3.5mm jack (P6)
19. Speaker output 3.5mm jack (P7)
20. Reset button for the BM63 module (SW10)
21. Reset button for MCU (SW1)
