Microchip Technology BM70 Bluetooth® PICtail™/PICtail Plusボード
Microchip Technology BM70 Bluetooth® PICtail™/PICtail Plusボードは、BM70 BLEモジュールの機能を評価・実証するように設計されています。このBluetoothボードには、統合構成とプログラミング・インターフェイスが搭載されており、プラグアンドプレイ機能を対象としています。また、BM70 Bluetoothボードは、BM70 BLEモジュールでサポートされているすべての機能を対象とした統合テスト環境を実現しています。このBluetoothボードには、BM70BLES1FC2モジュールおよびBM70BLES1FC2キャリア・ボードが搭載されています。特徴
- Bluetooth® 4.2準拠のBM70モジュールで、オンボード・アンテナと2dBm出力電力を装備
- USBインターフェイスおよびWindows®ベースの構成ツールを使用して直ちに開発
- USBインジケーション、モジュールのステータスとユーザ構成が可能なLED
- Explorer16といった一般的なマイクロコントローラ開発プラットフォームへの接続を目的としたPICtailインターフェイス
- ボタン型電池、USBまたはPICtail電力オプション
- すべてのBM70モジュール・ピンへのアクセス
キット内容
- BM70BLES1FC2モジュールが搭載されているBM70 EVB
- micro-USBケーブル
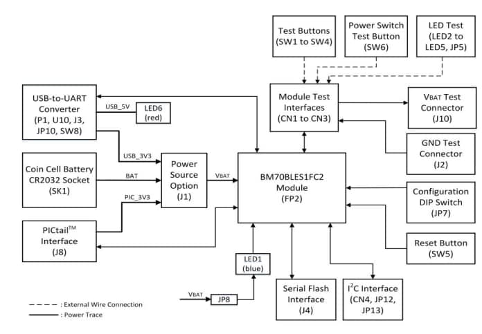
BM70 PICtail/PICtail Plusボードのブロック図
公開: 2018-10-08
| 更新済み: 2022-12-01
