統合デジタル信号プロセッサ(DSP)は、高度オーディオおよび音声処理を実行するAACおよびSBCコーデックをデコードします。これらには、ワイドバンド(WB)スピーチ、音響エコーキャンセル(AEC)、ノイズ低減(NR)があります。このプラットフォームは、Windows®オペレーティングシステムベースのグラフィカルユーザーインターフェイス(GUI)構成ツールを使用することで、周辺機器の設定とDSP機能をカスタマイズする上での柔軟性を実現しています。
独自のワイヤレスコンサート技術(WCT)は、同じ音源から複数のデバイスにオーディオをストリームします。デバイスは、音楽の再生をすぐに開始し、あらかじめプログラミングされたファームウェアを使用して電話を受信します。製品の差異化は、USB、UART、無線(OTA)ファームウェアアップグレード経由で新機能を展開することで維持できます。
特徴
- Bluetooth 5.0認証済
- HFP 1.7、HSP 1.2、A2DP 1.3 (Sink)、SPP 1.2、AVRCP 1.6、PBAP 1.2
- Bluetooth classic (BR/EDR) およびBluetooth Low Energy (BLE) に対応
- 一般的な属性プロファイル(GATT)および一般的なアクセスプロファイル(GAP)
- Bluetooth Low Energyデータ長さ拡張(DLE)と安全な接続
- AAC、SBC、LDAC(IS2083BM-2l2のみ)のデコーディングに対応
- USB、UART、無線 (OTA) ファームウェアアップグレード
- 受信感度: -90dBm(2Mbps EDR)
- +9.5dBm(EDR)送信出力電力
- I2S入力/出力、2つのデジタルマイク、2つのマイク、ステレオアナログ出力、aux-in
- ファームウェアアップデート用の内蔵フラッシュ
- 内蔵およびカスタム音声プロンプト
- GUIツールを用いたオーディオ処理のカスタマイズ
- MCLK、I2C、LED 2個、PWM、GPIO
- 16MHzメインクロック入力
- 動作電圧: 3.2V~4.2V
- 動作温度: -40ºC~+85ºC
アプリケーション
- ポータブルスピーカ
- 複数台のスピーカ
- ヘッドフォン
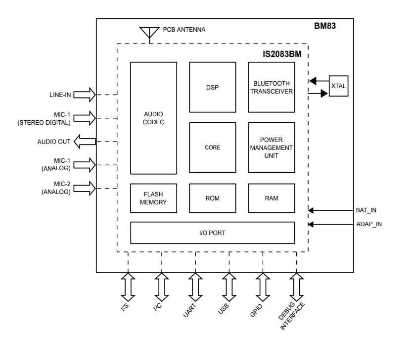
ブロック図
公開: 2019-12-18
| 更新済み: 2023-06-13

