Microchip Technology DSA12x1/2/3/4 高性能MEMSオシレータ
Microchip Technology DSA12x1/2/3/4 高性能MEMSオシレータは、高い信頼性と精度が要求される車載アプリケーション向けに特別に設計された高度なタイミングソリューションです。これらのMicrochipオシレータには、マイクロ電気機械システム (MEMS) 技術が活用されており、過酷な環境での優れた性能を発揮し、温度、衝撃、振動に対する優れた周波数安定性を備えています。 DSA12x1 シリーズはCMOS出力を提供しています。他方、DSA12x2/3/4シリーズは、LVPECL、LVDS、HCSLといった差動出力をサポートしており、高速データ伝送システムに適しています。AEC-Q100認定、低位相ジッタ、広い動作温度範囲を備えたこれらのオシレータは、先進運転支援システム (ADAS)、インフォテインメントシステム、車載ネットワーキング、およびその他のミッションに必要不可欠な車載用電子機器での使用に最適です。コンパクトなパッケージとプログラム可能な機能によって、設計の柔軟性がさらに強化され、現代の車載プラットフォームへの統合が可能になります。特徴
- 自動車向けAEC-Q100認定
- 周波数範囲
- DSA12x1: 2.5MHz~170MHz
- DSA12x2/3/4: 2.5MHz~450MHz
- LVPECL、LVDS、またはHCSL差動出力(DSA12x2/3/4のみ)に対応
- 非常に低い(標準< 650fs)="">
- PCIe Gen1/2/3/4/5/6 共通クロック仕様に準拠(DSA12x2/3/4のみ)
- 高い安定性(±20ppm、±25ppm、±50ppm)
- 広い温度範囲
- 車載グレード1:-40°C ~ +125°C
- 車載グレード2:-40°C ~ +105°C
- 車載グレード3:-40°C ~ +85°C
- 小型業界標準フットプリント (DSA12x2/3/4向けCDFN/VDFN、DSA12x1向けVDFN)
- 6リード 2.5mm × 2,0mm
- 6リード 3.2mm × 2.5mm
- 6リード 3.2mm × 5,0mm
- 6リード 7,0mm × 5,0mm
- MIL-STD-883に認定されている優れた衝撃、振動耐性
- 高い信頼性、クォーツオシレータよりも20倍優れた故障前の平均時間(MTBF)
- 供給範囲: 2.25V ~ 3.63V
- スタンバイ、周波数選択、出力イネーブル機能
- リードフリー、RoHS準拠
アプリケーション
- 車載用インフォテインメント
- 車載用ADAS
- 車内ネットワーク、CANバス、イーサネット
データシート
- DSA12x1 高性能CMOS MEMSオシレータ(車載用)
- DSA12x2/3/4 高性能差動MEMSオシレータ(車載用)
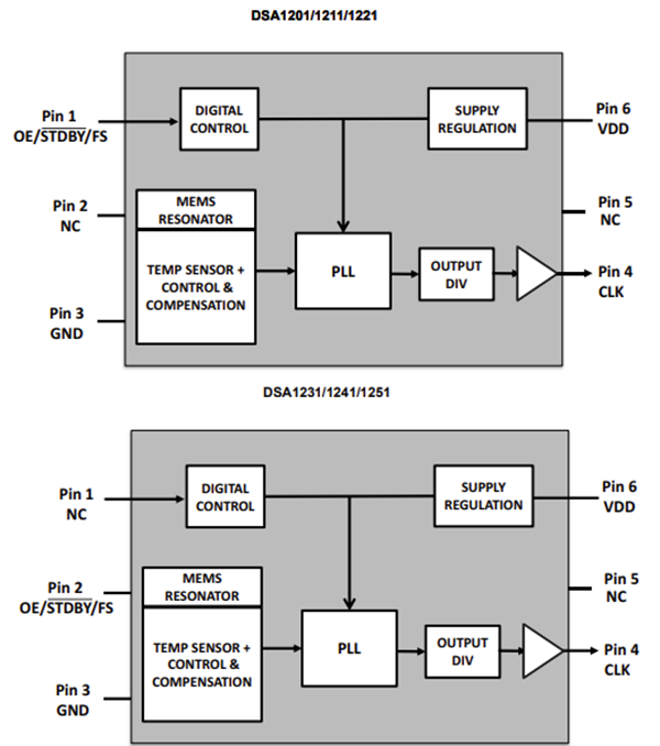
DSA12x1のブロック図
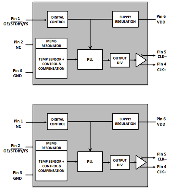
DSA12x2/3/4のブロック図
公開: 2025-08-05
| 更新済み: 2025-08-26
